| Обозначение: |  ГОСТ 4025-95 |
| Статус: | действующий |
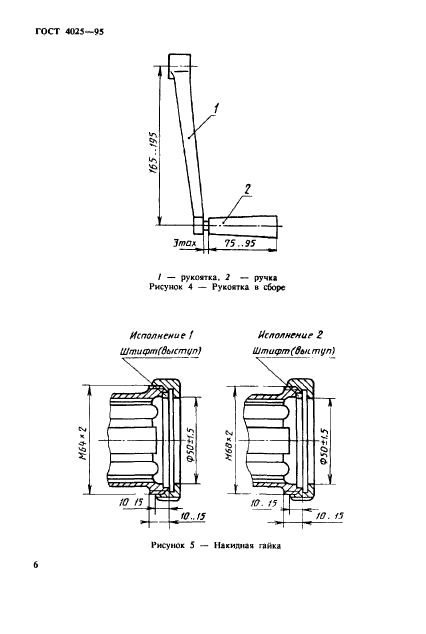
| Название рус.: | Мясорубки бытовые. Технические условия |
| Название англ.: | Domestic meat mincers. Specifications |
| Дата актуализации текста: | 06.04.2015 |
| Дата актуализации описания: | 01.07.2023 |
| Дата регистрации: | 26.04.1995 |
| Дата издания: | 06.12.1995 |
| Дата введения: | 01.07.1996 |
| Код ОКП: | 515731 |
| Взамен: | ГОСТ 4025-83 |
| Область применения: | Настоящий стандарт распространяется на бытовые шнековые мясорубки с ручным приводом, предназначенные для измельчения мяса, рыбы и других продуктов. Стандарт не распространяется на мясорубки, выполняемые в виде насадок к кухонным машинам |
|
| Расположен в: |
|