| Обозначение: |  ГОСТ ИСО 12307-1-96 |
| Статус: | действующий |
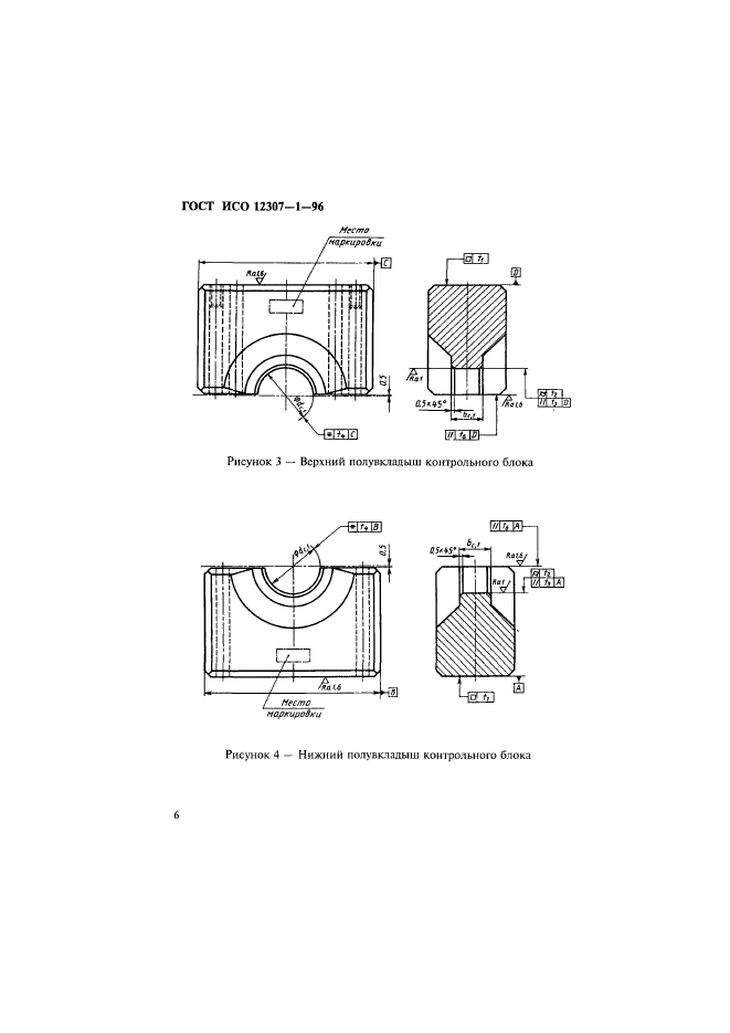
| Название рус.: | Подшипники скольжения. Свертные втулки. Контроль наружного диаметра |
| Название англ.: | Plain bearings. Wrapped bushes. Checking the outside diameter |
| Дата актуализации текста: | 06.04.2015 |
| Дата актуализации описания: | 01.01.2021 |
| Дата регистрации: | 04.10.1996 |
| Дата издания: | 12.11.1997 |
| Дата введения: | 01.01.1998 |
| Код ОКП: | 418210 |
| Аутентичен стандартам: | ISO 12307-1:1993 |
| Область применения: | Настоящий стандарт распространяется на свертные втулки по ГОСТ 27672 и устанавливает методы контроля наружного диаметра свертных втулок и требования к используемому измерительному оборудованию в соответствии с ГОСТ ИСО 12301. Стандарт представляет собой полный аутентичный текст международного стандарта ИСО 12307-1-93 |
|
| Расположен в: |
|