| Обозначение: |  ГОСТ Р 51349-99 |
| Статус: | действующий |
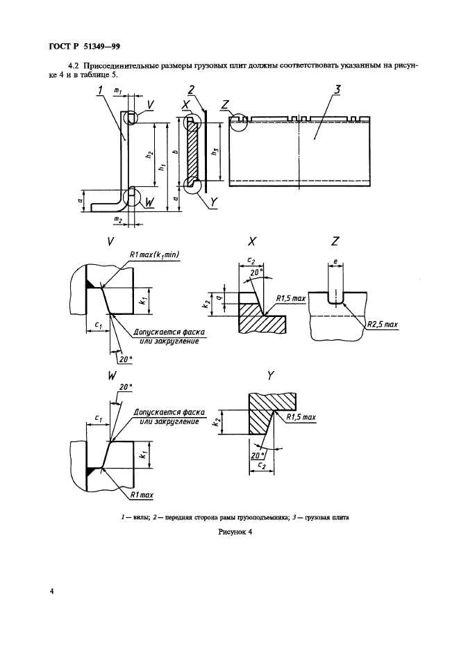
| Название рус.: | Транспорт напольный безрельсовый. Плиты грузовые, вилы. Технические условия |
| Название англ.: | Floor mounted lift trucks. Load plates, fork. Specifications |
| Дата актуализации текста: | 06.04.2015 |
| Дата актуализации описания: | 01.07.2023 |
| Дата издания: | 17.01.2000 |
| Дата введения: | 01.07.2000 |
| Код ОКП: | 345350;452700 |
| Содержит требования: | ISO 2328:1993;ISO 2330:1995;ISO 2331:1974 |
| Нормативные ссылки: | ГОСТ 7564-97; ГОСТ 9454-78 |
| Область применения: | Настоящий стандарт распространяется на вновь выпускаемые погрузчики, штабелеры с электроприводои или с двигателем внутреннего сгорания и устанавливает размеры, характеристики грузовых плит и вил, методы испытаний и маркировку вил |
| Список изменений: | №0 от 25.03.2003 (рег. 25.03.2003) «Дата введения перенесена» |
| Приложение №1: | Поправка к ГОСТ Р 51349-99 |
| Приложение №2: | Поправка к ГОСТ Р 51349-99 |
|
| Расположен в: |
|