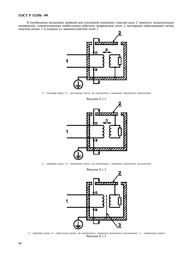
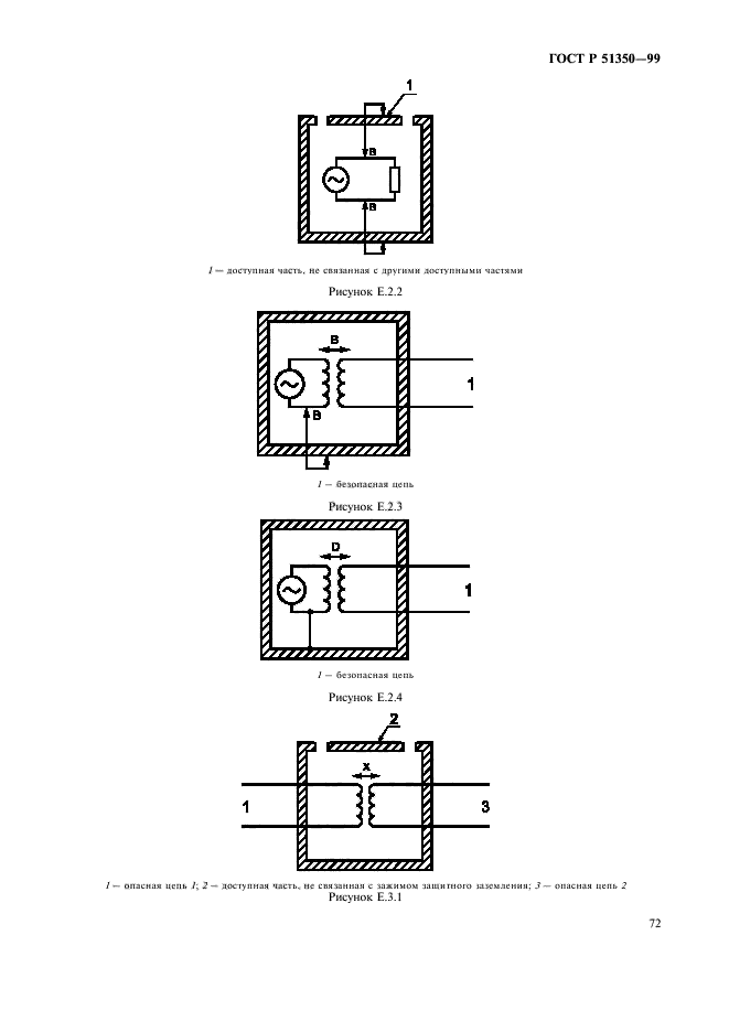
| ||||||||||||||||||||||||||||||||||||||||||||||||||
Скачать ГОСТ Р 51350-99 Безопасность электрических контрольно-измерительных приборов и лабораторного оборудования. Часть 1. Общие требованияДата актуализации: 01.06.2025
| ||||||||||||||||||||||||||||||||||||||||||||||||||
| Обозначение: | ![]() ГОСТ Р 51350-99 |
| Статус: | отменён |
| Название рус.: | Безопасность электрических контрольно-измерительных приборов и лабораторного оборудования. Часть 1. Общие требования |
| Название англ.: | Safety requirements for electrical equipment for measurement, control, and laboratory use. Part 1. General requirements |
| Дата актуализации текста: | 06.04.2015 |
| Дата актуализации описания: | 01.07.2023 |
| Дата издания: | 01.11.2001 |
| Дата введения: | 01.07.2000 |
| Дата окончания срока действия: | 01.01.2014 |
| Код ОКП: | 420000;668000;430000;658800;940000;443000 |
| Содержит требования: | IEC 61010-1(1990) |
| На территории РФ пользоваться: | ГОСТ 12.2.091-2002 |
| Нормативные ссылки: | ISO 4126-1:1991;IEC 60050(1975);IEC 60060-2(1994);IEC 60068-2-63(1991);IEC 60270(1981);IEC 60359(1987);IEC 60405(1972);IEC 60417(1973);IEC 60445(1988);IEC 60664-1(1992);IEC 60664-3(1992);IEC 60804(1995);IEC 60990(1990);IEC 61010-3-1(1997); ГОСТ 8.417-81; ГОСТ 12.1.001-89; ГОСТ 12.1.006.84; ГОСТ 12.1.024-81; ГОСТ 12.2.006-87; ГОСТ 12.4.026-76; ГОСТ 6570-96; ГОСТ 8865-93; ГОСТ 14254-96; ГОСТ 15088-83; ГОСТ 16504-81; ГОСТ 17187-81; ГОСТ 21991-89; ГОСТ 22781.0-81; ГОСТ 22781.1-77; ГОСТ 22781.2-77; ГОСТ 22781.3-77; ГОСТ 22781.4-78; ГОСТ 22781.5-78; ГОСТ 22781.6-81; ГОСТ 22781.7-81; ГОСТ 22789-94; ГОСТ 25874-83; ГОСТ 26104-89; ГОСТ 27473-87; ГОСТ 28190-89; ГОСТ 28217-89; ГОСТ 28244-96; ГОСТ 29146.1-91; ГОСТ 29146.2-91; ГОСТ 30012.1-93; ГОСТ 30030-93; ГОСТ 30262-95; ГОСТ 30457-97; ГОСТ 30530-97; ГОСТ Р 50030.1-92; ГОСТ Р 50030.2-94; ГОСТ Р 50267.0-92; ГОСТ Р 50377-92; ГОСТ Р 50537-93; ГОСТ Р 50538-93; ГОСТ Р 50539-93; ГОСТ Р 50540-93; ГОСТ Р 50541-93; ГОСТ Р 50571.1-93; ГОСТ Р 50571.2-94; ГОСТ Р 50571.3-94; ГОСТ Р 50571.4-94; ГОСТ Р 50571.5-94; ГОСТ Р 50571.6-94; ГОСТ Р 50571.7-94; ГОСТ Р 50571.8-94; ГОСТ 50571.9-94; ГОСТ Р 50695-94; ГОСТ Р 50723-94; ГОСТ Р 50948-96; ГОСТ Р 50949-96; ГОСТ Р МЭК 227-1-94; ГОСТ Р МЭК 227-2-94; ГОСТ Р МЭК 227-3-94; ГОСТ Р МЭК 227-4-94; ГОСТ Р МЭК 227-5-94; ГОСТ Р МЭК 227-6-94; ГОСТ Р МЭК 245-1-97; ГОСТ Р МЭК 245-2-97; ГОСТ Р МЭК 245-3-97; ГОСТ Р МЭК 245-4-97; ГОСТ Р МЭК 245-5-97; ГОСТ Р МЭК 245-6-97 ГОСТ Р МЭК 245-7-97; ГОСТ Р МЭК 335-1-94; ГОСТ Р МЭК 536-94; ГОСТ Р МЭК 799-94 |
| Область применения: | Настоящий стандарт устанавливает общие требования безопасности к электрическим контрольно-измерительным приборам и лабораторному оборудованию. Для определенных типов этого оборудования требования безопасности дополнены или изменены специальными требованиями частных стандартов. Частный стандарт следует применять совместно с настоящим стандартом |
| Список изменений: | №0 от 14.06.2001 (рег. 14.06.2001) «Дата введения перенесена» №0 от 01.01.2014 (рег. 22.11.2012) «Текстовое изменение; Изменено заглавие» |
| Приложение №1: | Поправка к ГОСТ Р 51350-99 |
| Приложение №2: | Поправка к ГОСТ Р 51350-99 |
| Расположен в: | |


























































































| Обозначение: | Поправка к ГОСТ Р 51350-99 |
| Дата введения: | 15.06.2001 |

| Обозначение: | Поправка к ГОСТ Р 51350-99 |
| Дата введения: | 14.06.2001 |
