| Обозначение: |  ГОСТ 6628-73 |
| Статус: | заменён |
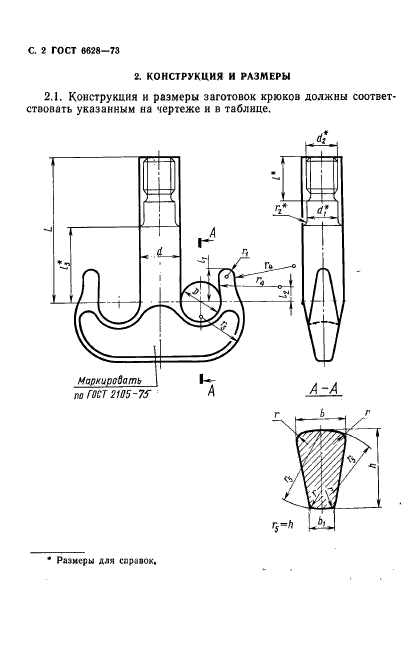
| Название рус.: | Крюки двурогие. Заготовки. Типы. Конструкция и размеры |
| Название англ.: | Ramshorn hooks. Blanks. Type. Construction and dimensions |
| Дата актуализации текста: | 06.04.2015 |
| Дата актуализации описания: | 01.07.2023 |
| Дата издания: | 01.06.1988 |
| Дата введения: | 01.01.1975 |
| Дата окончания срока действия: | 01.06.2021 |
| Код ОКП: | 317000 |
| Взамен: | ГОСТ 6628-63 |
| Заменяющий: | ГОСТ 34680-2020 |
| Нормативные ссылки: | ГОСТ 16093-70; ГОСТ 9562-60; ГОСТ 2105-64 |
| Область применения: | Настоящий стандарт распространяется на заготовки двурогих кованых и штампованных крюков с цилиндрическим хвостовиком, применяемых в грузоподъемных машинах |
| Список изменений: | №1 от 01.06.1992 (рег. 25.12.1991) «Срок действия продлен» |
|
| Расположен в: |
|