| Обозначение: |  ГОСТ 21233-75 |
| Статус: | действующий |
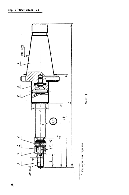
| Название рус.: | Оправки качающиеся для насадных разверток с хвостовиком конусностью 7:24 к сверлильным и расточным станкам. Конструкция и размеры |
| Название англ.: | Floating arbors for shell reamers with 7:24 taper shank for drilling and boring machines. Design and dimensions |
| Дата актуализации текста: | 06.04.2015 |
| Дата актуализации описания: | 01.07.2023 |
| Дата издания: | 01.04.1982 |
| Дата введения: | 01.01.1977 |
| Код ОКП: | 392800 |
| Нормативные ссылки: | ГОСТ 9.073-77; ГОСТ 1477-75; ГОСТ 2789-73; ГОСТ 3128-70; ГОСТ 8820-69; ГОСТ 13040-67; ГОСТ 13044-78; ГОСТ 13440-68; ГОСТ 17166-71; ГОСТ 23360-78; ГОСТ 24644-81 |
| Область применения: | Настоящий стандарт распространяется на качающиеся оправки для насадных разверток с хвостовиком конусностью 7:24 к сверлильным и расточным станкам |
| Список изменений: | №1 от 30.06.1982 (рег. 26.02.1982) «Срок действия продлен» |
|
| Расположен в: |
|