| Обозначение: |    ГОСТ 12135-75 | 
| Статус: | заменён | 
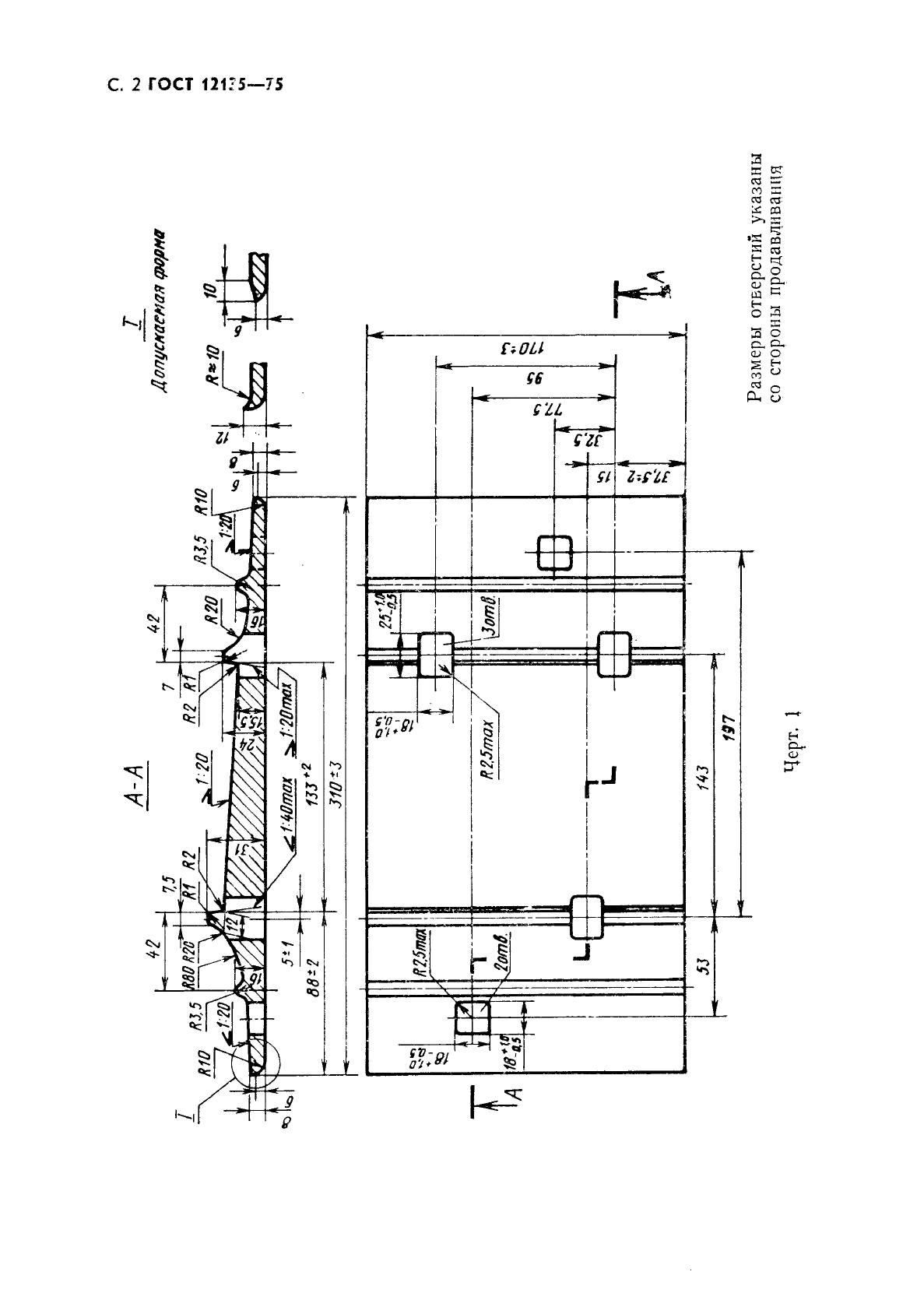
| Название рус.: | Подкладки костыльного скрепления к железнодорожным рельсам типа Р50. Конструкция и размеры | 
| Название англ.: | The plates of spike fastening for railway P50 rails. Design and dimensions | 
| Дата актуализации текста: | 06.04.2015 | 
| Дата актуализации описания: | 01.01.2021 | 
| Дата издания: | 01.09.1987 | 
| Дата введения: | 01.01.1976 | 
| Дата окончания срока действия: | 01.03.2015 | 
| Код ОКП: | 113200 | 
| Взамен: |  ГОСТ 12135-66 | 
| Заменяющий: |  ГОСТ 32694-2014 | 
| Нормативные ссылки: |  ГОСТ 3280-72 | 
| Область применения: | Настоящий стандарт распространяется на подкладки Д50 и СД50 костыльного скрепления к железнодорожным рельсам типа Р50. Подкладки СД50 применяются в конструкциях железнодорожного пути, где не требуется наклон рельсовых нитей | 
| Список изменений: | №0 от 08.06.1987 (рег. 07.06.1987) «Срок действия продлен» №1 от 01.11.1976 (рег. 27.09.1976) «Срок действия продлен» №2 от 01.01.1981 (рег. 20.08.1980) «Срок действия продлен» | 
 | 
| Расположен в: | 
  |