| Обозначение: |    ГОСТ 5392-80 | 
| Статус: | действующий | 
| Название рус.: | Резцы зубострогальные для прямозубых конических колес. Технические условия | 
| Название англ.: | Straight bevel gear-generating tools. Specifications | 
| Дата актуализации текста: | 06.04.2015 | 
| Дата актуализации описания: | 01.01.2021 | 
| Дата издания: | 01.10.1989 | 
| Дата введения: | 01.01.1982 | 
| Код ОКП: | 392125 | 
| Взамен: |  ГОСТ 5392-64 | 
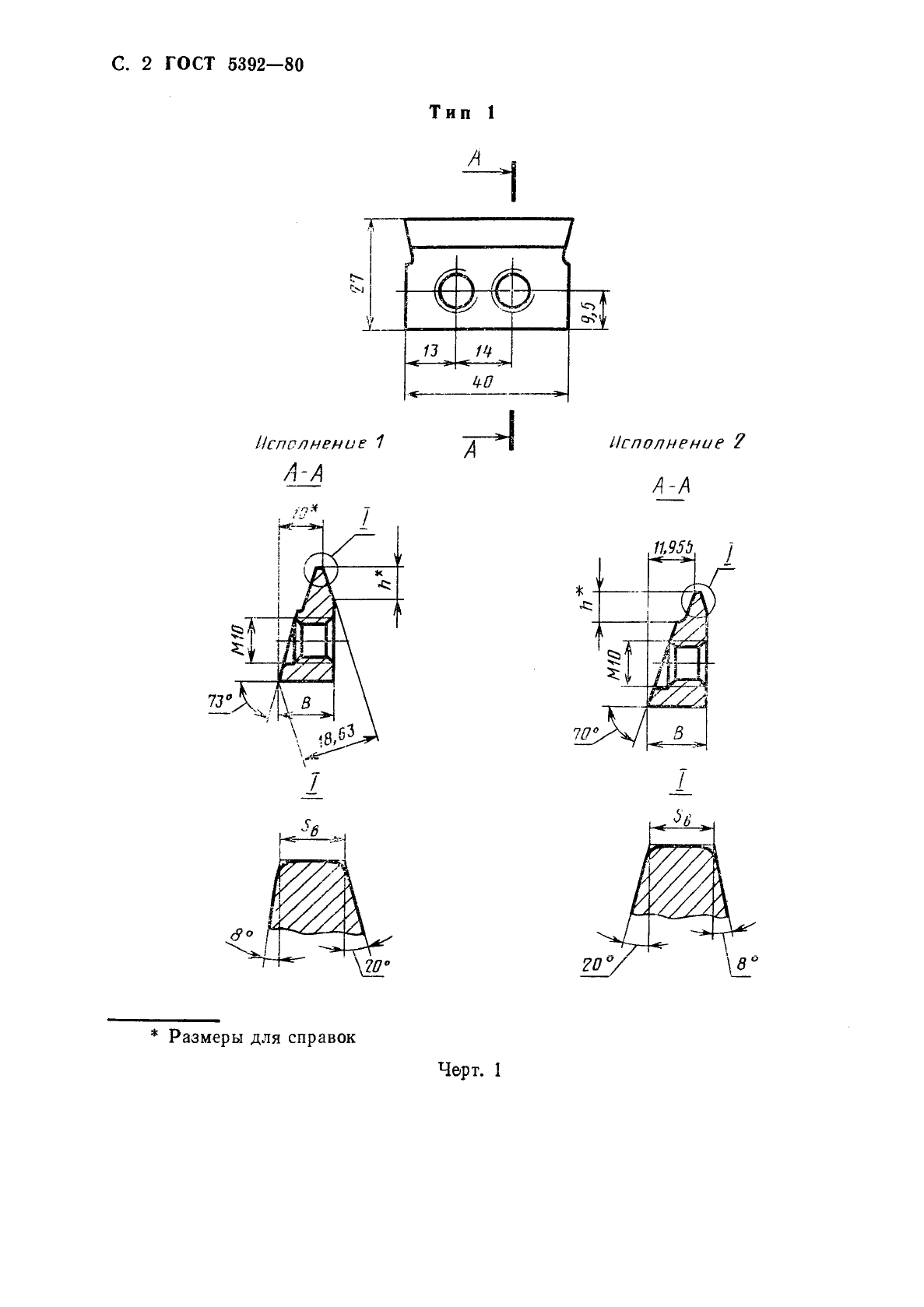
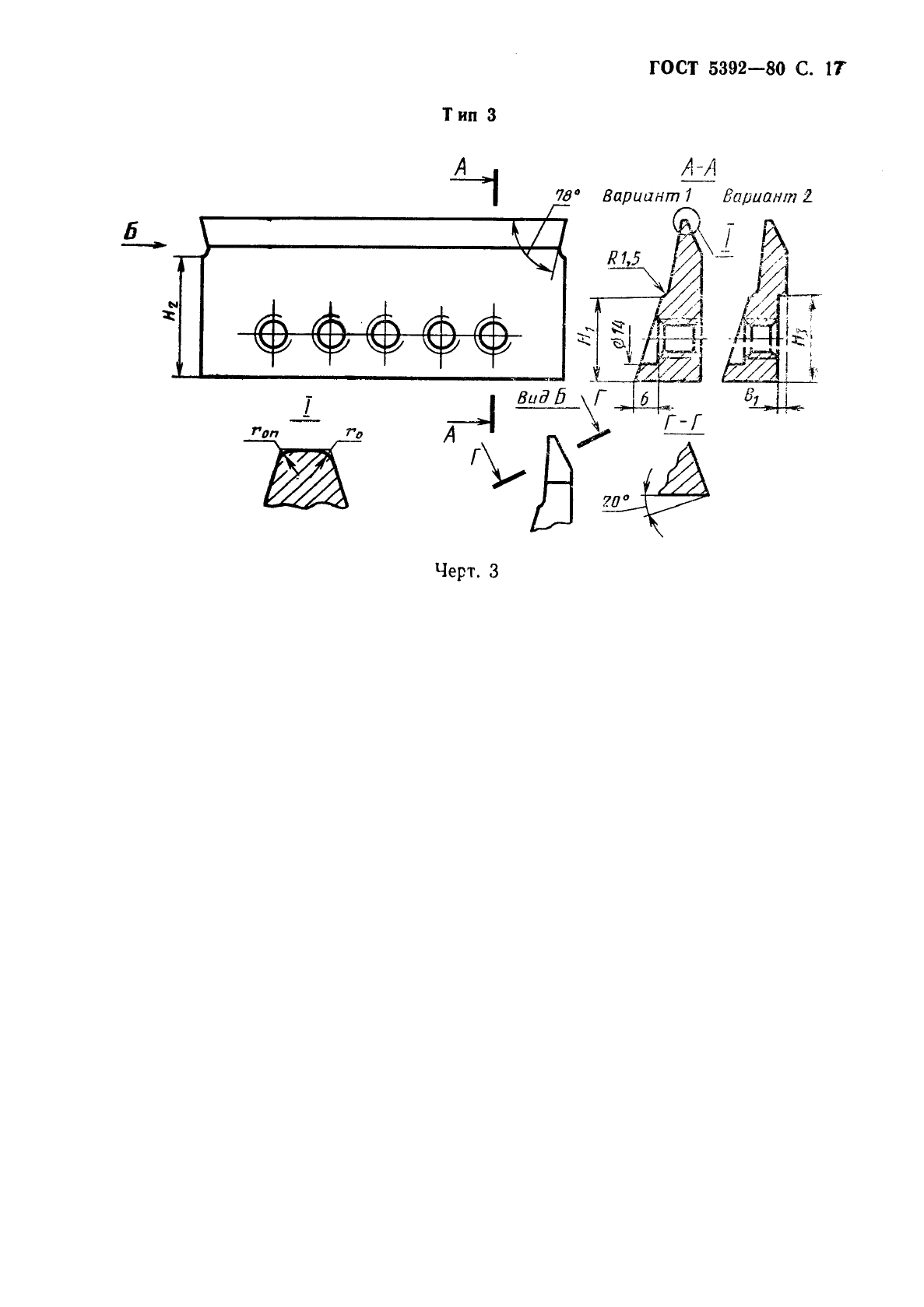
| Область применения: | Настоящий стандарт распространяется на зубострогальные резцы для обработки конических колес с прямыми зубьями с исходным контуром по ГОСТ 13754-81 и ГОСТ 9587-81 и модулями от 0,3 до 20 мм, изготовляемые для нужд народного хозяйства и на экспорт | 
| Список изменений: | №1 от 01.07.1987 (рег. 20.12.1986) «Срок действия продлен» | 
 | 
| Расположен в: | 
  |