| Обозначение: |  ГОСТ 7565-81 |
| Статус: | действующий |
| Название рус.: | Чугун, сталь и сплавы. Метод отбора проб для химического состава |
| Название англ.: | Iron, steel and alloys. Sampling for determination of chemical composition |
| Дата актуализации текста: | 01.12.2024 |
| Дата актуализации описания: | 01.01.2021 |
| Дата издания: | 01.09.2009 |
| Дата введения: | 01.01.1982 |
| Код ОКП: | 080000;090000 |
| Взамен: | ГОСТ 7565-73 |
| Содержит требования: | ISO 377-2:1989;СТ СЭВ 466-77 |
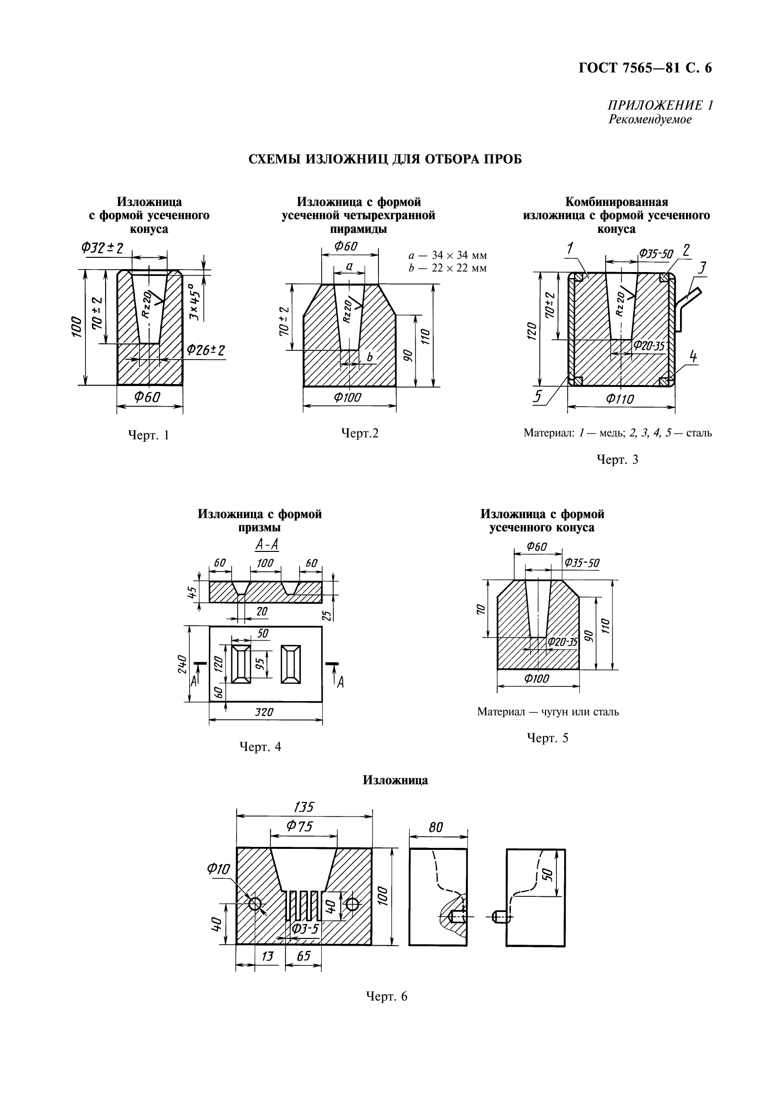
| Область применения: | Настоящий стандарт устанавливает метод отбора и подготовки проб для определения химического состава доменного чугуна, стали, сплавов и готового проката |
| Список изменений: | №1 от 01.01.1987 (рег. 10.06.1986) «Срок действия продлен» №2 от 01.01.1992 (рег. 16.06.1991) «Срок действия продлен» |
| Приложение №1: | Поправка к ГОСТ 7565-81 |
|
| Расположен в: |
|