| Обозначение: |    ГОСТ 13219.15-81 | 
| Статус: | действующий | 
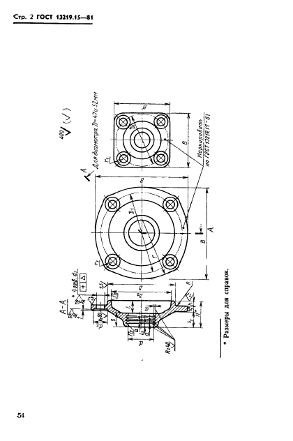
| Название рус.: | Крышки торцовые с канавками высокие диаметром от 47 до 100 мм корпусов подшипников качения. Конструкция и размеры | 
| Название англ.: | Hign cups with grooves for fat, diameters from 47 till 100 mm of pillow blocks. Construction and dimensions | 
| Дата актуализации текста: | 06.04.2015 | 
| Дата актуализации описания: | 01.07.2023 | 
| Дата издания: | 23.09.1981 | 
| Дата введения: | 01.01.1982 | 
| Код ОКП: | 418422 | 
| Взамен: |  ГОСТ 13219.15-67 | 
| Нормативные ссылки: |  ГОСТ 13218.1-80; ГОСТ 13218.3-80; ГОСТ 13218.5-80; ГОСТ 13218.7-80; ГОСТ 13219.1-81; ГОСТ 13219.17-81 | 
| Область применения: | Настоящий стандарт распространяется на высокие торцовые крышки с канавками, устанавливаемые в корпусах подшипников качения и предназначенные для герметизации подшипникового узла, осевой фиксации подшипника и восприятия осевых нагрузок | 
 | 
| Расположен в: | 
  |