| Обозначение: |  ГОСТ 9400-81 |
| Статус: | действующий |
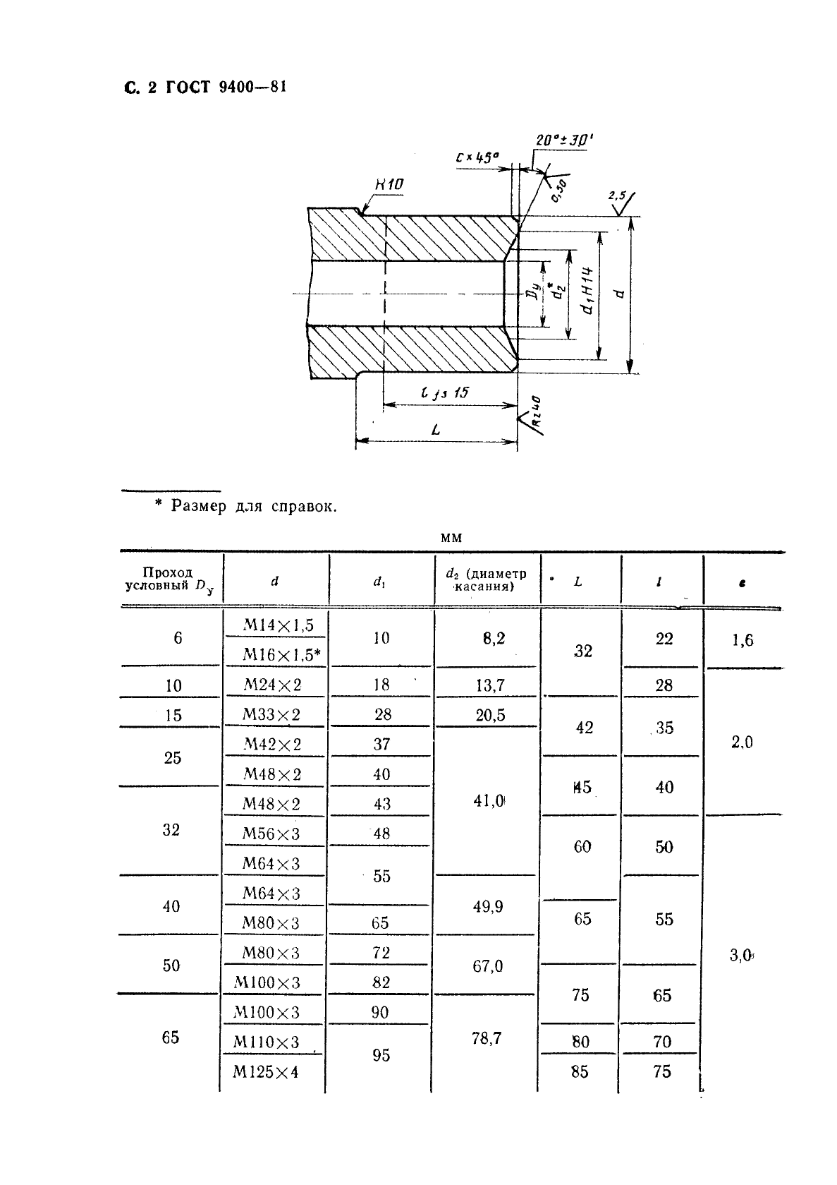
| Название рус.: | Концы присоединительные резьбовые для арматуры, соединительных частей и трубопроводов под линзовое уплотнение на Ру 20-100 МПа (200-1000 кгс/см.кв.). Размеры |
| Название англ.: | Threaded connecting ends for valves, fittings and pipes with tens - shaped seals for pn20-100 mpa (200-1000 kgf/cm2) dimensions |
| Дата актуализации текста: | 06.04.2015 |
| Дата актуализации описания: | 01.07.2023 |
| Дата издания: | 01.03.1993 |
| Дата введения: | 01.01.1982 |
| Код ОКП: | 368380;370000 |
| Взамен: | ГОСТ 9400-75 |
| Нормативные ссылки: | ГОСТ 16093-70; ГОСТ 356-80;СТ СЭВ 214-75 |
| Область применения: | Настоящий стандарт распространяется на присоединительные концы под линзовое уплотнение для соединения с фланцами на резьбе арматуры, соединительных частей и трубопроводов, применяемых в химической и нефтехимической и промышленностях, на Ру 20-100 МПа (200-1000 кгс/см.кв.) и Dу 6-200 мм с температурой от минус 50 до плюс 510 град. С |
| Список изменений: | №1 от 01.03.1989 (рег. 07.09.1988) «Срок действия продлен» №2 от 01.01.1992 (рег. 26.02.1991) «Срок действия продлен» |
|
| Расположен в: |
|