| Обозначение: |  ГОСТ 8483-81 |
| Статус: | действующий |
| Название рус.: | Метчики ловильные геологоразведочные. Технические условия |
| Название англ.: | Fishing tap. Technical conditions |
| Дата актуализации текста: | 06.04.2015 |
| Дата актуализации описания: | 01.07.2023 |
| Дата издания: | 19.05.1981 |
| Дата введения: | 01.01.1982 |
| Код ОКП: | 366821 |
| Взамен: | ГОСТ 8483-57 |
| Нормативные ссылки: | ГОСТ 8467-57; ГОСТ 7918-75; ГОСТ 4543-71; ГОСТ 380-71; ГОСТ 1050-74; ГОСТ 8479-70; ГОСТ 2789-73; ГОСТ 8233-56; ГОСТ 7918-75; ГОСТ 9378-75; ГОСТ 9450-76; ГОСТ 9.014-78 |
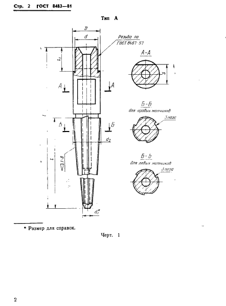
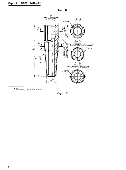
| Область применения: | Настоящий стандарт распространяется на ловильные промывные метчики, предназначенные для извлечения оставшихся в скважинах при геологоразведочном бурении стальных труб ниппельного соединения диаметрами 32; 33,5; 38; 42; 50; 54; 68 мм; муфтовозамкового соединения диаметрами 42; 50 и 63,5 мм; бурильных труб КССК-76; ССК-46; ССК-59; ССК-76; утяжеленных бурильных труб диаметрами 73 и 89 мм; двойной колонны для бурения с гидротранспортом керна; обсадных, колонковых, двойных колонковых труб диаметрами 34; 44; 57; 73; 89; 108; 127 и 146 мм и переходников, используемых с перечисленными трубами |
| Список изменений: | №1 от 01.04.1987 (рег. 17.12.1986) «Срок действия продлен» №2 от 01.01.1992 (рег. 24.06.1991) «Срок действия продлен» |
|
| Расположен в: |
|