| Обозначение: |    ГОСТ 12995-82 | 
| Статус: | действующий | 
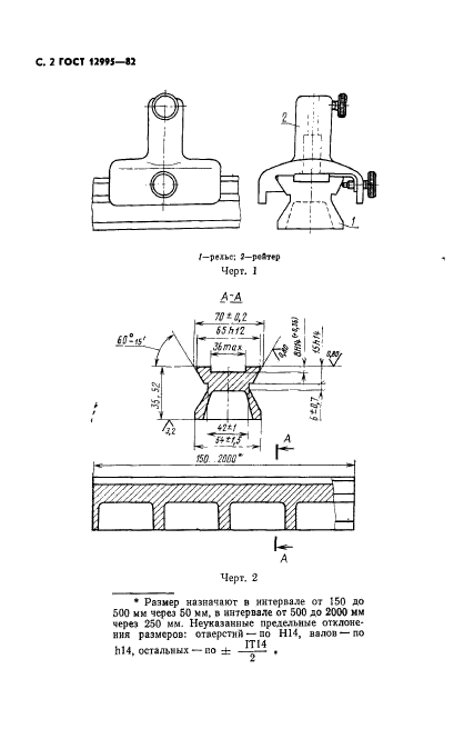
| Название рус.: | Скамья оптическая трапецеидального профиля. Основные и сопрягаемые размеры. Технические требования | 
| Название англ.: | Optical banch of trapezoidal profile. Main and conjugated dimensions. Technical requirements | 
| Дата актуализации текста: | 06.04.2015 | 
| Дата актуализации описания: | 01.01.2021 | 
| Дата издания: | 01.07.1987 | 
| Дата введения: | 01.01.1984 | 
| Код ОКП: | 443490 | 
| Взамен: |  ГОСТ 12995-67 | 
| Нормативные ссылки: |  ГОСТ 24643-81;СТ СЭВ 145-75 | 
| Область применения: | Настоящий стандарт распространяется на оптическую скамью трапецеидального профиля с направляющими типа "ласточкин хвост", предназначенную для установки оптических приборов, спектральных устройств, отдельных деталей и приспособлений и перемещений их параллельно оптической, визирной осям, и устанавливает основные и сопрягаемые размеры рельса и рейтеров | 
 | 
| Расположен в: | 
  |