| ||||||||||||||||||||||||||||||||||
Скачать ГОСТ 5105-82 Канистры стальные для горючего и масел. Технические условияДата актуализации: 01.06.2025
| ||||||||||||||||||||||||||||||||||
| Обозначение: | ![]() ГОСТ 5105-82 |
| Статус: | действующий |
| Название рус.: | Канистры стальные для горючего и масел. Технические условия |
| Название англ.: | Steel tanks for fuel and oils. Specifications |
| Дата актуализации текста: | 06.04.2015 |
| Дата актуализации описания: | 01.07.2023 |
| Дата издания: | 01.03.1996 |
| Дата введения: | 01.01.1984 |
| Код ОКП: | 141640 |
| Взамен: | ГОСТ 5105-76 |
| Нормативные ссылки: | ГОСТ 9.032-74; ГОСТ 9.104-79; ГОСТ 9.402-80; ГОСТ 9.403-80; ГОСТ 977-88; ГОСТ 2084-77; ГОСТ 2991-85; ГОСТ 3560-73; ГОСТ 4765-73; ГОСТ 5100-85; ГОСТ 7338-90; ГОСТ 8273-75; ГОСТ 8448-78; ГОСТ 8828-89; ГОСТ 9045-93; ГОСТ 9142-90; ГОСТ 9754-76; ГОСТ 10277-90; ГОСТ 10678-76; ГОСТ 10704-91; ГОСТ 11249-80; ГОСТ 12026-76; ГОСТ 12082-82; ГОСТ 13078-81; ГОСТ 14192-77; ГОСТ 15140-78; ГОСТ 15878-79; ГОСТ 16523-89; ГОСТ 17308-88; ГОСТ 18425-73; ГОСТ 25670-83; ГОСТ 26663-85;ТУ 14-3-960-80 |
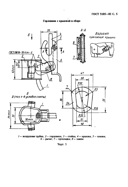
| Область применения: | Настоящий стандарт распространяется на сварные стальные канистры, предназначенные для транспортирования и хранения горючего и масел |
| Список изменений: | №1 от 01.01.1987 (рег. 25.09.1986) «Срок действия продлен» №2 от 01.02.1988 (рег. 27.09.1987) «Срок действия продлен» №3 от 01.11.1988 (рег. 20.06.1988) «Срок действия продлен» №4 от 01.01.1990 (рег. 19.06.1989) «Срок действия продлен» №5 от 01.05.1992 (рег. 11.11.1991) «Срок действия продлен» |
| Расположен в: | |





















