| Обозначение: |  ГОСТ 5812-82 |
| Статус: | заменён |
| Название рус.: | Костыли для железных дорог широкой колеи. Технические условия |
| Название англ.: | Fastening for broad gauge railways. Specifications |
| Дата актуализации текста: | 06.04.2015 |
| Дата актуализации описания: | 01.07.2023 |
| Дата издания: | 01.11.1998 |
| Дата введения: | 01.01.1983 |
| Дата окончания срока действия: | 01.03.2015 |
| Код ОКП: | 129200 |
| Взамен: | ГОСТ 5812-75 |
| Заменяющий: | ГОСТ 5812-2014 |
| Нормативные ссылки: | ГОСТ 5812-82; ГОСТ 380-94; ГОСТ 15150-69; ГОСТ 535-88; ГОСТ 17769-83; ГОСТ 162-90; ГОСТ 164-90; ГОСТ 20435-75; ГОСТ 22225-76; ГОСТ 15102-75; ГОСТ 14192-96 |
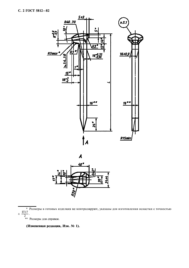
| Область применения: | Настоящий стандарт распространяется на костыли класса точности С, предназначенные для крепления железнодорожных рельсов к деревянным шпалам и брусьям |
| Список изменений: | №1 от 01.01.1988 (рег. 21.06.1987) «Срок действия продлен» №2 от 01.06.1996 (рег. 17.01.1996) «Срок действия продлен» |
|
| Расположен в: |
|