| Обозначение: |  ГОСТ 8823-85 |
| Статус: | не действует в РФ |
| Название рус.: | Лифты электрические грузовые. Основные параметры и размеры |
| Название англ.: | Electric goods lifts. Basis parameters and dimensions |
| Дата актуализации текста: | 06.04.2015 |
| Дата актуализации описания: | 01.07.2023 |
| Дата издания: | 15.11.1985 |
| Дата введения: | 01.01.1986 |
| Дата окончания срока действия: | 01.06.2010 |
| Код ОКП: | 483621 |
| Взамен: | ГОСТ 8823-67; ГОСТ 9322-67; ГОСТ 13415-67; ГОСТ 13416-67 |
| Содержит требования: | СТ СЭВ 4326-83 |
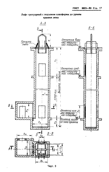
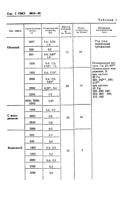
| Область применения: | Настоящий стандарт распространяется на электрические грузовые лифты общего назначения: обычные, с монорельсом, выжимные и тротуарные, устанавливаемые в общественных зданиях и зданиях промышленных предприятий |
| Список изменений: | №0 от 31.05.2010 (рег. 11.02.2010) «Поправка к изменению» |
|
| Расположен в: |
|