| Обозначение: |    ГОСТ 12876-67 | 
| Статус: | действующий | 
| Название рус.: | Поверхности опорные под крепежные детали. Размеры | 
| Название англ.: | Bearing surface under fasteners. Dimensions | 
| Дата актуализации текста: | 06.04.2015 | 
| Дата актуализации описания: | 01.07.2023 | 
| Дата издания: | 01.08.2006 | 
| Дата введения: | 01.01.1969 | 
| Код ОКП: | 160000 | 
| Взамен: | МН 5016-63 | 
| Содержит требования: | СТ СЭВ 213-82 | 
| Нормативные ссылки: |  ГОСТ 11284-75; ГОСТ 13682-80 | 
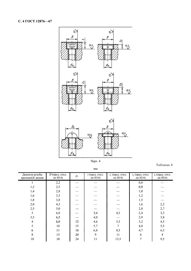
| Область применения: | Настоящий стандарт распространяется на опорные поверхности под крепежные детали с диаметром стержня от 1 до 48 мм, изготовляемые по государственным стандартам | 
| Список изменений: | №2 от 31.08.1974 (рег. 05.06.1974) «Срок действия продлен» №3 от 30.09.1980 (рег. 09.06.1980) «Срок действия продлен» №4 от 01.01.1984 (рег. 13.04.1983) «Срок действия продлен» | 
 | 
| Расположен в: | 
  |