| ||||||||||||||||||||||||||||||||||||||||||||||||
Скачать ГОСТ Р 52327-2005 Тара стеклянная для продуктов детского питания. Технические условияДата актуализации: 01.06.2025
| ||||||||||||||||||||||||||||||||||||||||||||||||
| Обозначение: | ![]() ГОСТ Р 52327-2005 |
| Статус: | отменён |
| Название рус.: | Тара стеклянная для продуктов детского питания. Технические условия |
| Название англ.: | Glass containers for children's food. Specifications |
| Дата актуализации текста: | 06.04.2015 |
| Дата актуализации описания: | 01.07.2023 |
| Дата издания: | 01.11.2006 |
| Дата введения: | 01.01.2006 |
| Дата окончания срока действия: | 01.07.2015 |
| Код ОКП: | 598611;598726 |
| На территории РФ пользоваться: | ГОСТ 32671-2014 |
| Нормативные ссылки: | ГОСТ 164-90; ГОСТ 577-68; ГОСТ 2603-79; ГОСТ 3118-77; ГОСТ 6968-76; ГОСТ 10117.2-2001; ГОСТ 10134.1-82; ГОСТ 12601-76; ГОСТ 13903-2005; ГОСТ 13904-2005; ГОСТ 14192-96; ГОСТ 15150-69; ГОСТ 17527-2003; ГОСТ 23932-90; ГОСТ 24980-2005; ГОСТ 25706-83; ГОСТ 30005-93; ГОСТ 30288-95; ГОСТ Р 52022-2003 |
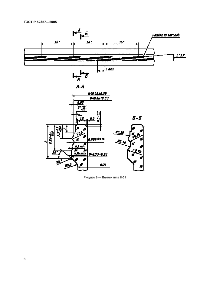
| Область применения: | Настоящий стандарт распространяется на стеклянную тару круглой формы - банки и бутылки, используемую в промышленном производстве продуктов детского питания (соков и консервов), при их транспортировании и хранении. Стандарт устанавливает основные параметры и размеры изделий, требования к качеству, правилам приемки, методам контроля, упаковке, маркировке, транспортированию, хранению и условиям эксплуатации. Стандарт не распространяется на банки под рыбные консервы для детского питания |
| Список изменений: | №0 от 20.03.2006 (рег. 20.03.2006) «Дата введения перенесена» №0 от 30.06.2015 (рег. 21.08.2014) «Текстовое изменение; Изменено заглавие» |
| Приложение №1: | Поправка к ГОСТ Р 52327-2005 |
| Приложение №2: | Поправка к ГОСТ Р 52327-2005 |
| Расположен в: | |






















| Обозначение: | Поправка к ГОСТ Р 52327-2005 |
| Дата введения: | 20.03.2006 |

| Обозначение: | Поправка к ГОСТ Р 52327-2005 |
| Дата введения: | 21.03.2006 |
