| Обозначение: |  ГОСТ Р 52448-2005 |
| Статус: | действующий |
| Название рус.: | Защита информации. Обеспечение безопасности сетей электросвязи. Общие положения |
| Название англ.: | Information protection. Providing the security of networks telecommunications. General provisions |
| Дата актуализации текста: | 01.01.2021 |
| Дата актуализации описания: | 01.07.2023 |
| Дата издания: | 14.01.2019 |
| Дата введения: | 01.01.2007 |
| Нормативные ссылки: | ГОСТ Р ИСО/МЭК 15408-2; ГОСТ Р ИСО/МЭК 15408-3; ГОСТ Р 51275 |
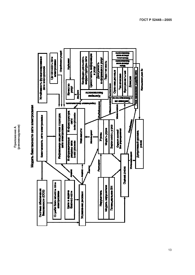
| Область применения: | Настоящий стандарт предназначен для применения расположенными на территории Российской Федерации организациями, предприятиями и другими субъектами хозяйственной деятельности независимо от их организационно-правовой формы и формы собственности, которые связаны с созданием и эксплуатацией сетей электросвязи, являющимися составными компонентами сети связи общего пользования единой сети электросвязи Российской Федерации. Настоящий стандарт определяет терминологию, цели, задачи, принципы и основные положения обеспечения безопасности сетей электросвязи |
|
| Расположен в: |
|