| Обозначение: |  ГОСТ Р 50529-93 |
| Статус: | заменён |
| Название рус.: | Оружие ручное огнестрельное, устройства промышленного и специального назначения. Требования безопасности и методы испытаний на безопасность |
| Название англ.: | Hand fire-arm and devices of industrial and special purpose. Safety requirements and safety testing methods |
| Дата актуализации текста: | 06.04.2015 |
| Дата актуализации описания: | 01.07.2023 |
| Дата издания: | 05.04.1995 |
| Дата введения: | 01.07.1993 |
| Дата окончания срока действия: | 01.01.2010 |
| Код ОКП: | 718100;718200 |
| Заменяющий: | ГОСТ Р 50529-2007 |
| Нормативные ссылки: | ГОСТ Р 50530-93 |
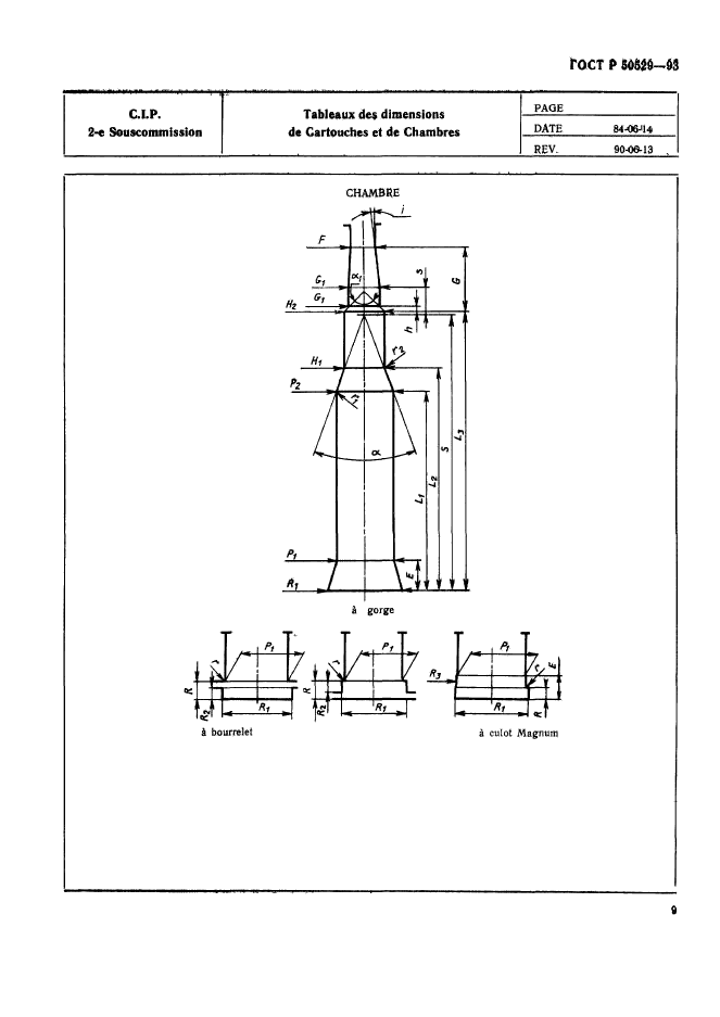
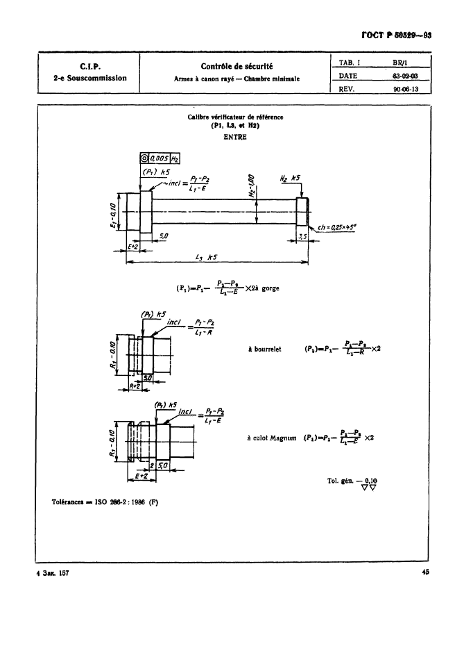
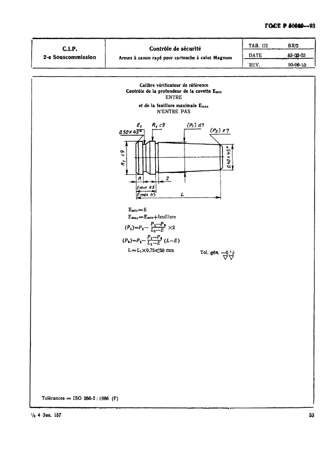
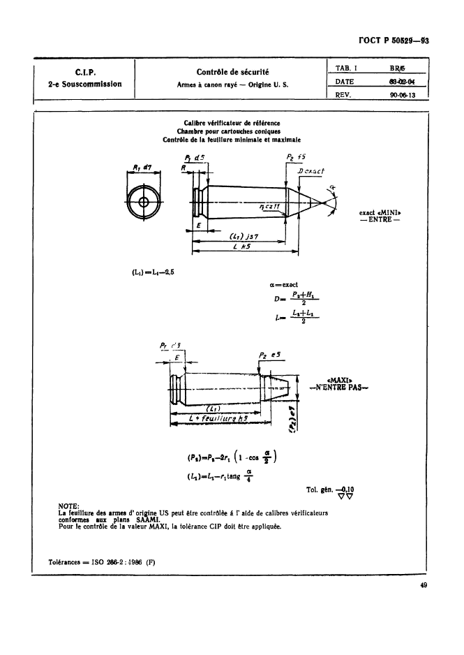
| Область применения: | Настоящий стандарт устанавливает требования, выполнение которых обеспечивает безопасность функционирования ручного огнестрельного оружия, а также методы испытаний указанного оружия на безопасность в соответствии с нормативными документами Постоянной международной комиссии (ПМК) Брюссельской конвенции по взаимному признанию испытательных клейм ручного огнестрельного оружия. В стандарте приведены требования к параметрам ручного огнестрельного оружия, методам и средствам испытаний, установленные документами ПМК для целей сертификации на безопасность |
| Список изменений: | №1 от 01.09.1999 (рег. 19.05.1999) «Срок действия продлен» |
|
| Расположен в: |
|