| Обозначение: |  ГОСТ Р 50596-93 |
| Статус: | действующий |
| Название рус.: | Система информационно-управляющая для обеспечения технической эксплуатации воздушных судов. Основные положения |
| Название англ.: | Data management system for aircraft maintenance facility. Basic principles |
| Дата актуализации текста: | 06.04.2015 |
| Дата актуализации описания: | 01.07.2023 |
| Дата издания: | 14.12.1993 |
| Дата введения: | 01.07.1994 |
| Код ОКП: | 425000 |
| Нормативные ссылки: | ГОСТ 34.003-90; ГОСТ 34.601-90;РД 50-680-88;Инструкция 54-003-025-89 |
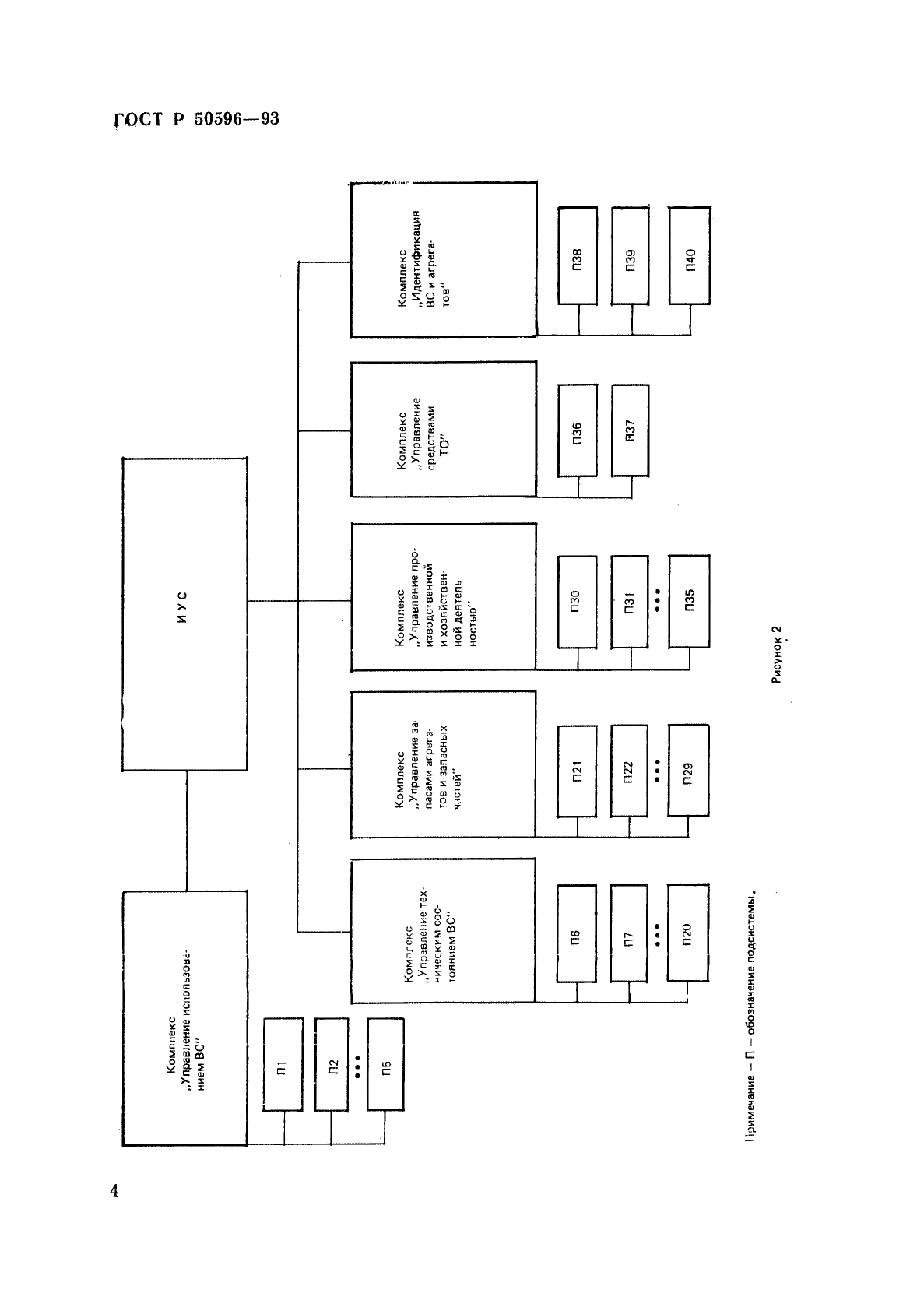
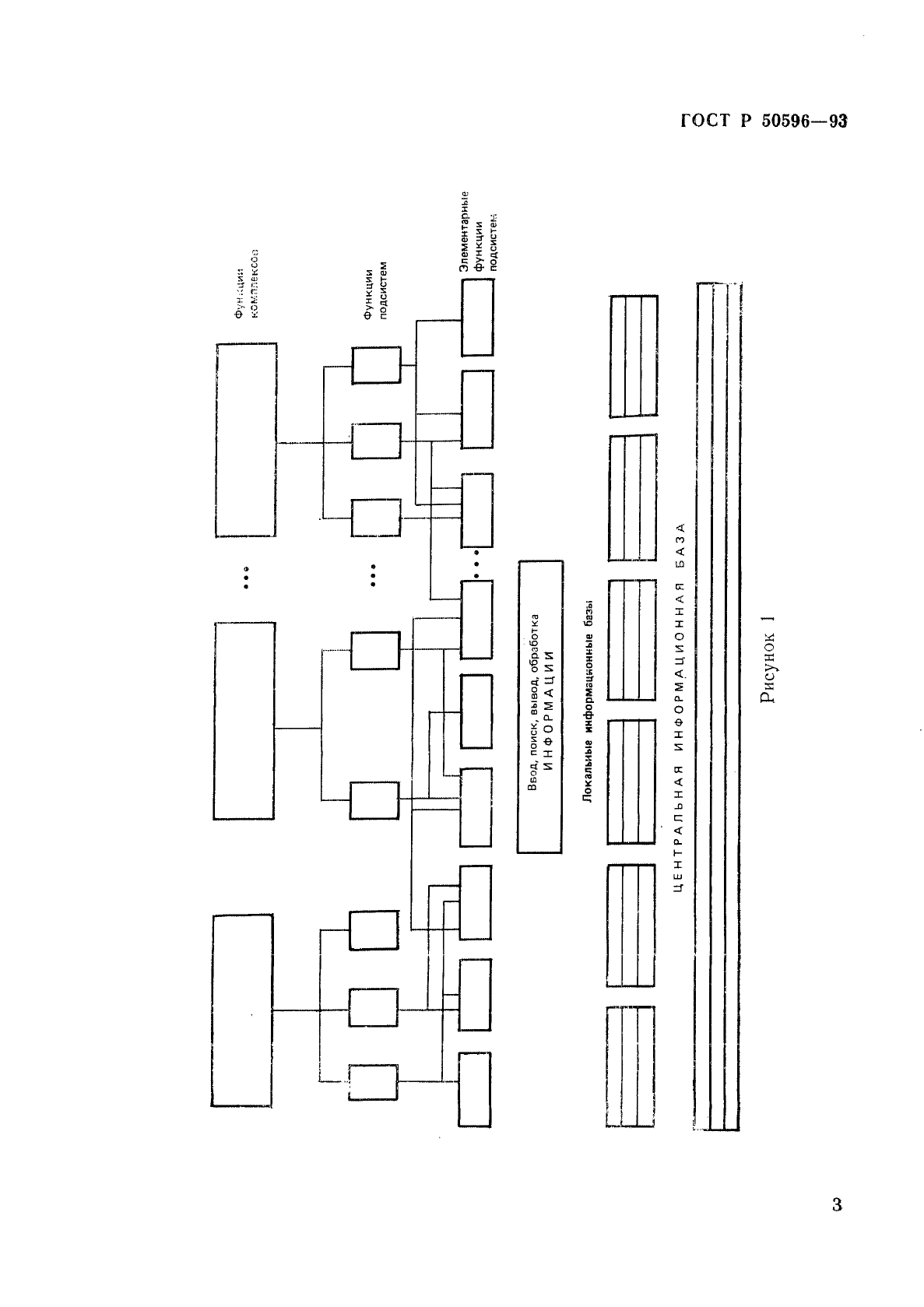
| Область применения: | Настоящий стандарт распространяется на информационно-управляющие системы (ИУС), предназначенные для оснащения авиационных эксплуатирующих предприятий в целях информационного обеспечения и решения задач управления эксплуатацией и техническим обслуживанием воздушных судов . Настоящий стандарт устанавливает требования, определяющие назначение, структуру, состав, функции и задачи ИУС |
|
| Расположен в: |
|