| Обозначение: |  ГОСТ Р 50578-93 |
| Статус: | действующий |
| Название рус.: | Материалы композиционные полимерные. Метод испытания на сдвиг перекашиванием пластины |
| Название англ.: | Polymer composites. Plate distortion shear test |
| Дата актуализации текста: | 06.04.2015 |
| Дата актуализации описания: | 01.07.2023 |
| Дата издания: | 23.09.1993 |
| Дата введения: | 01.07.1994 |
| Код ОКП: | 220000 |
| Нормативные ссылки: | ГОСТ 12423-66; ГОСТ 14359-69; ГОСТ 21616-91; ГОСТ 28840-90 |
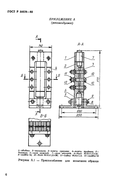
| Область применения: | Настоящий стандарт распространяется на композиционные полимерные материалы (ПКМ) конструкционного назначения, армированные непрерывными волокнами, структура которых симметрична относительно их срединной плоскости, и устанавливает метод испытания ПКМ на сдвиг в плоскости армирования перекашиванием пластины с определением модуля сдвига и предела прочности |
|
| Расположен в: |
|