| Обозначение: |  ГОСТ Р 50267.34-95 |
| Статус: | заменён |
| Название рус.: | Изделия медицинские электрические. Часть 2. Частные требования безопасности к приборам для прямого мониторинга кровяного давления |
| Название англ.: | Medical electrical equipment. Part 2. Particular requirements for the safety of direct blood pressure monitoring equipment |
| Дата актуализации текста: | 06.04.2015 |
| Дата актуализации описания: | 01.07.2023 |
| Дата издания: | 28.06.1995 |
| Дата введения: | 01.01.1996 |
| Дата окончания срока действия: | 01.01.2021 |
| Код ОКП: | 944130 |
| Заменяющий: | ГОСТ Р МЭК 60601-2-34-2020 |
| Содержит требования: | IEC 60601-2-34(1993) |
| Нормативные ссылки: | ГОСТ Р 50267.0-92; ГОСТ 14254-80 |
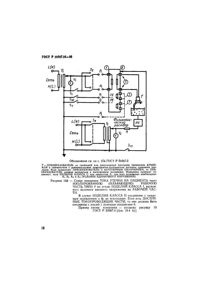
| Область применения: | Настоящий стандарт распространяется на безопасность МЕДИЦИНСКИХ ЭЛЕКТРИЧЕСКИХ ИЗДЕЛИЙ. Так как настоящий стандарт относится в основном к безопасности, он содержит некоторые требования, касающиеся надежной работы, если это связано с безопасностью. Настоящий стандарт распространяется на ПРИБОРЫ ДЛЯ ПРЯМОГО МОНИТОРИНГА КРОВЯНОГО ДАВЛЕНИЯ. Настоящий стандарт не распространяется на катетерные трубки, катетерные иглы, фиксаторы шприцев Люэра и т.п. Кроме того, настоящий стандарт не распространяется на приборы для непрямого мониторинга кровяного давления |
|
| Расположен в: |
|