| Обозначение: |    ГОСТ 12593-93 | 
| Статус: | действующий | 
| Название рус.: | Станки металлорежущие. Концы шпинделей фланцевые под поворотную шайбу и фланцы зажимных устройств. Основные и присоединительные размеры | 
| Название англ.: | Metal cutting machine tools. Flanged spindle noses with swireluashers and flanges of fixtures. Basic and coupling dimensions | 
| Дата актуализации текста: | 06.04.2015 | 
| Дата актуализации описания: | 01.07.2023 | 
| Дата издания: | 25.09.1995 | 
| Дата введения: | 01.07.1996 | 
| Код ОКП: | 387300;396100 | 
| Взамен: |  ГОСТ 12593-72 | 
| Содержит требования: | ISO 702-3:1975 | 
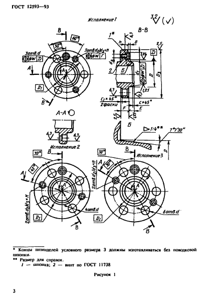
| Область применения: | Настоящий стандарт распространяется на фланцевые концы шпинделей с коротким конусом и поворотной шайбой для токарных станков и на фланцы зажимных устройств, устанавливаемых на концы шпинделей | 
 | 
| Расположен в: | 
  |