| Обозначение: |  ГОСТ Р 50835-95 |
| Статус: | действующий |
| Название рус.: | Вещества взрывчатые бризантные. Методы определения характеристик чувствительности к трению при ударном сдвиге |
| Название англ.: | High explosives. Sensitivity characteristics determination for friction when impact displacement |
| Дата актуализации текста: | 06.04.2015 |
| Дата актуализации описания: | 01.07.2023 |
| Дата издания: | 20.02.1996 |
| Дата введения: | 01.01.1997 |
| Код ОКП: | 727600 |
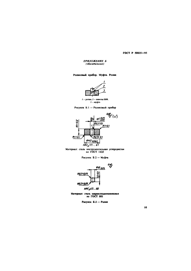
| Нормативные ссылки: | ГОСТ 801-78; ГОСТ 1435-90 |
| Область применения: | Настоящий стандарт распространяется на твердые бризантные взрывчатые вещества и устанавливает методы определения следующих характеристик чувствительности к трению при ударном сдвиге: - нижнего предела чувствительности к трению - основная характеристика; - частости взрывов - дополнительная характеристика, используемая для определения вероятности взрыва бризантных взрывчатых веществ в зависимости от давления прижатия |
|
| Расположен в: |
|