| Обозначение: |  ГОСТ Р 51319-99 |
| Статус: | действующий |
| Название рус.: | Совместимость технических средств электромагнитная. Приборы для измерения индустриальных радиопомех. Технические требования и методы испытаний |
| Название англ.: | Electromagnetic compatibility of technical equipment. Radio disturbance measuring apparatus. Technical requirements and test methods |
| Дата актуализации текста: | 06.04.2015 |
| Дата актуализации описания: | 01.07.2023 |
| Дата издания: | 11.05.2000 |
| Дата введения: | 01.01.2001 |
| Нормативные ссылки: | ГОСТ 14777-76; ГОСТ 22261-94; ГОСТ 24375-80; ГОСТ 26104-89; ГОСТ 30372-95; ГОСТ Р 50397-92; ГОСТ Р 51320-99;CISPR 16-1 (1993-08) |
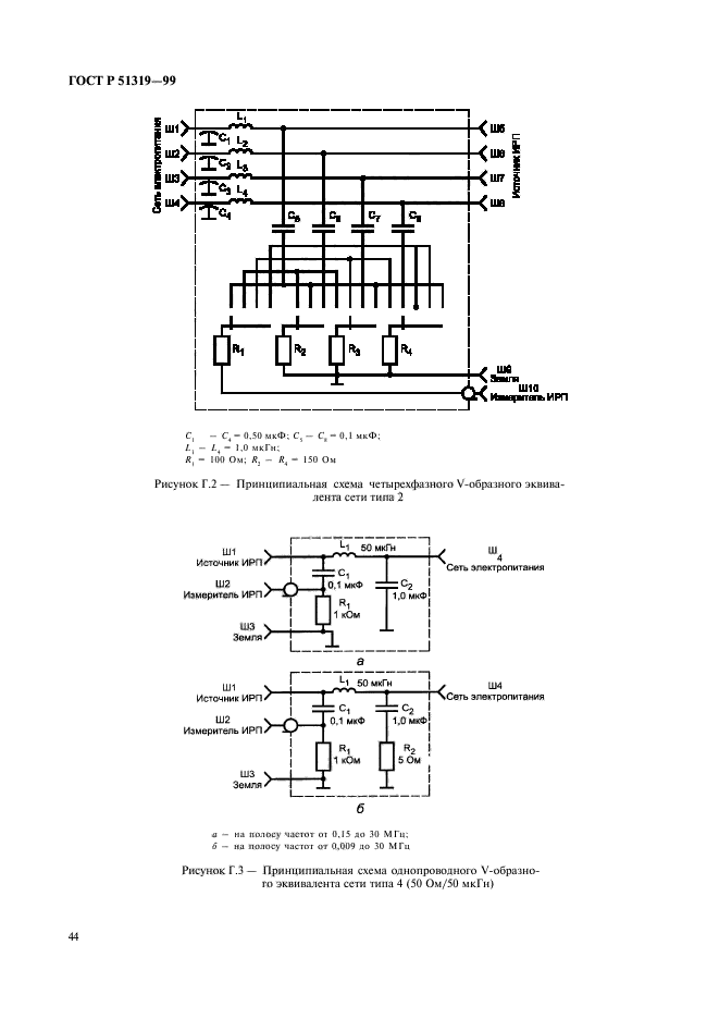
| Область применения: | Настоящий стандарт распространяется на приборы, предназначенные для измерения индустриальных радиопомех, и устанавливает технические требования и методы испытаний приборов в полосе частот от 9 кГц до 1000 МГц |
|
| Расположен в: |
|