| ||||||||||||||||||||||||||||||||||||||||||||||||
 Скачать ГОСТ 6266-97 Листы гипсокартонные. Технические условияДата актуализации: 01.06.2025
 | ||||||||||||||||||||||||||||||||||||||||||||||||
| Обозначение: | ![]()   ГОСТ 6266-97 | 
| Статус: | действующий | 
| Название рус.: | Листы гипсокартонные. Технические условия | 
| Название англ.: | Gypsum plasterboards. Specifications | 
| Дата актуализации текста: | 06.04.2015 | 
| Дата актуализации описания: | 01.07.2023 | 
| Дата регистрации: | 10.12.1997 | 
| Дата издания: | 12.01.1999 | 
| Дата введения: | 01.04.1999 | 
| Код ОКП: | 574200 | 
| Взамен: |  ГОСТ 6266-89 | 
| Нормативные ссылки: |  ГОСТ 12.1.044-89; ГОСТ 166-89; ГОСТ 427-75; ГОСТ 3560-73; ГОСТ 3749-77; ГОСТ 7502-98; ГОСТ 11358-89; ГОСТ 14192-96; ГОСТ 15467-79; ГОСТ 24104-88; ГОСТ 25951-83; ГОСТ 30108-94; ГОСТ 30244-94; ГОСТ 30402-96 | 
| Область применения: | Настоящий стандарт распространяется на гипсокартонные листы, предназначенные для отделки стен, устройства перегородок, подвесных потолков, огнезащиты конструкций, изготовления декоративных и звукопоглощающих изделий | 
| Список изменений: | №0 от 03.04.2002 (рег. 03.04.2002) «Дата введения перенесена» №0 от 26.08.2010 (рег. 26.08.2010) «Дата введения перенесена»  | 
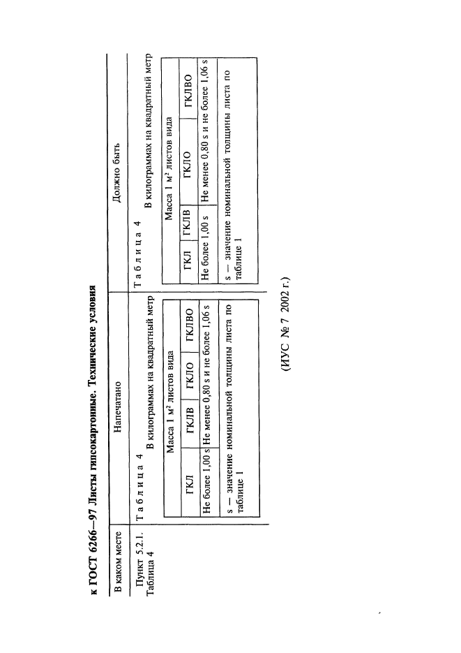
| Приложение №1: | Поправка к ГОСТ 6266-97 | 
| Приложение №2: | Поправка к ГОСТ 6266-97 | 
| Расположен в: | |






























| Обозначение: | Поправка к ГОСТ 6266-97 | 
| Дата введения: | 04.04.2002 | 

| Обозначение: | Поправка к ГОСТ 6266-97 | 
| Дата введения: | 27.08.2010 | 
