| Обозначение: |  ГОСТ 11182-71 |
| Статус: | действующий |
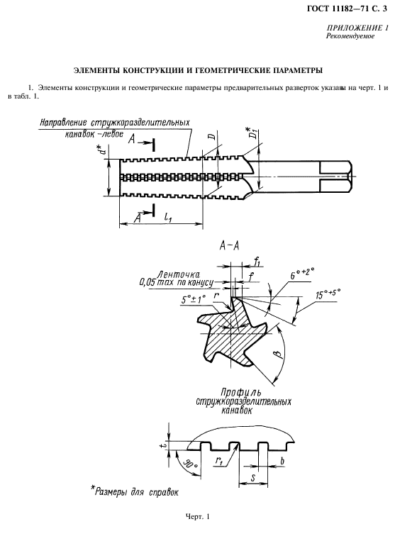
| Название рус.: | Развертки конические с цилиндрическим хвостовиком под конусы Морзе. Конструкция и размеры |
| Название англ.: | Morse taper reamers with cylindrical shank. Design and dimensions |
| Дата актуализации текста: | 06.04.2015 |
| Дата актуализации описания: | 01.07.2023 |
| Дата издания: | 01.11.1997 |
| Дата введения: | 01.07.1972 |
| Код ОКП: | 391754 |
| Взамен: | ГОСТ 11182-65 |
| Взамен в части: | МН 56-58 в части разверток для конусов Морзе |
| Нормативные ссылки: | ISO 2250:1972; ГОСТ 25557-82; ГОСТ 9523-84; ГОСТ 14034-74; ГОСТ 11178-81 |
| Область применения: | Настоящий стандарт распространяется на чистовые и предварительные конические развертки, предназначенные для обработки отверстий с конусом Морзе |
| Список изменений: | №1 от 01.06.1981 (рег. 27.04.1981) «Срок действия продлен» №2 от 01.07.1995 (рег. 30.01.1995) «Срок действия продлен» |
|
| Расположен в: |
|