| Обозначение: |    ГОСТ 7499-71 | 
| Статус: | не действует в РФ | 
| Название рус.: | Колонка пожарная. Технические условия | 
| Название англ.: | Fire standpipe | 
| Дата актуализации текста: | 06.04.2015 | 
| Дата актуализации описания: | 01.07.2023 | 
| Дата издания: | 01.03.1986 | 
| Дата введения: | 01.01.1972 | 
| Дата окончания срока действия: | 01.05.2009 | 
| Код ОКП: | 485480 | 
| Взамен: |  ГОСТ 7499-55 | 
| На территории РФ пользоваться: |  ГОСТ Р 53250-2009 | 
| Нормативные ссылки: |  ГОСТ 2217-76; ГОСТ 2685-75; ГОСТ 1020-77Е; ГОСТ 16093-70; ГОСТ 9791-68; ГОСТ 9.032-74; ГОСТ 9.104-79; ГОСТ 9544-75; ГОСТ 2.601-68; ГОСТ 18837-73 | 
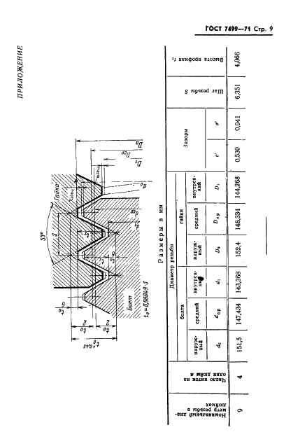
| Область применения: | Настоящий стандарт распространяется на пожарную колонку, предназначенную для открывания (закрывания) подземных гидрантов и присоединения пожарных рукавов с целью отбора воды из водопроводных сетей на пожарные нужды | 
| Список изменений: | №0 от 30.04.2009 (рег. 18.02.2009) «Поправка к изменению» №1 от 01.01.1981 (рег. 22.10.1980) «Срок действия продлен» №2 от 01.05.1986 (рег. 04.12.1985) «Срок действия продлен» | 
 | 
| Расположен в: | 
  |