| ||||||||||||||||||||||||||||||||||
Скачать ГОСТ 7090-72 Дробилки молотковые однороторные. Технические условияДата актуализации: 01.06.2025
| ||||||||||||||||||||||||||||||||||
| Обозначение: | ![]() ГОСТ 7090-72 |
| Статус: | действующий |
| Название рус.: | Дробилки молотковые однороторные. Технические условия |
| Название англ.: | Single-rotor hammer crushers. Specifications |
| Дата актуализации текста: | 06.04.2015 |
| Дата актуализации описания: | 01.07.2023 |
| Дата издания: | 01.10.1985 |
| Дата введения: | 01.01.1973 |
| Код ОКП: | 484000;314583 |
| Взамен: | ГОСТ 7090-64 |
| Нормативные ссылки: | ГОСТ 9.032-74; ГОСТ 9.104-79; ГОСТ 2176-77; ГОСТ 977-75; ГОСТ 380-71; ГОСТ 1412-79; ГОСТ 14959-79; ГОСТ 2.601-68; ГОСТ 2.602-68; ГОСТ 12375-70; ГОСТ 12.2.003-74; ГОСТ 12.1.012-78; ГОСТ 12.2.011-75; ГОСТ 12.4.040-79; ГОСТ 8.055-73; ГОСТ 20445-75; ГОСТ 12.4.012-75; ГОСТ 12.1.005-76; ГОСТ 17510-79; ГОСТ 7090-72 |
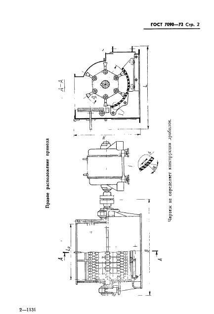
| Область применения: | Настоящий стандарт распространяется на молотковые однороторные дробилки, предназначенные для дробления хрупких и мягких материалов: каменного угля, каменной соли, мела, гипса, топочного шлака, кирпичного боя, огнеупорного боя, квасцов, селитры, буры, а также известняка, некоторых руд и других малоабразивных материалов с влажностью при которой не происходит замазывания колосниковых решеток. При снятых колосниковых решетках дробилки применяются для дробления материалов с повышенной влажностью. Стандарт не распространяется на дробилки с самоочищающейся подвижной плитой и на реверсивные дробилки |
| Список изменений: | №1 от 01.07.1981 (рег. 06.04.1981) «Срок действия продлен» №2 от 01.07.1985 (рег. 19.12.1984) «Срок действия продлен» №3 от 01.01.1990 (рег. 22.06.1989) «Срок действия продлен» |
| Расположен в: | |













