| Обозначение: |  ГОСТ 3497-74 |
| Статус: | действующий |
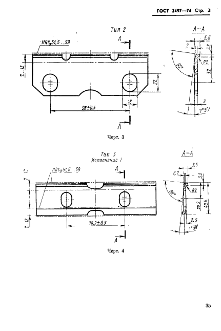
| Название рус.: | Пластинки трения режущих аппаратов сельскохозяйственных машин. Технические условия |
| Название англ.: | Wearing plates for cutter bars of agricultural machines |
| Дата актуализации текста: | 06.04.2015 |
| Дата актуализации описания: | 01.07.2023 |
| Дата издания: | 01.08.1985 |
| Дата введения: | 01.01.1975 |
| Код ОКП: | 479171 |
| Взамен: | ГОСТ 3497-67 |
| Нормативные ссылки: | ГОСТ 1435-74; ГОСТ 2789-73; ГОСТ 16768-71; ГОСТ 9013-59; ГОСТ 15841-77; ГОСТ 14192-77; ГОСТ 7751-79 |
| Область применения: | Настоящий стандарт распространяется на пластинки трения режущих аппаратов сельскохозяйственных машин. Стандарт не распространяется на пластинки трения, сопрягаемые с ножевой головкой, за исключением пластинки для внутреннего башмака косилок |
| Список изменений: | №0 от 21.06.1988 (рег. 20.06.1988) «Срок действия продлен» №1 от 01.01.1981 (рег. 06.11.1980) «Срок действия продлен» №2 от 01.11.1984 (рег. 04.06.1984) «Срок действия продлен» №3 от 01.10.1986 (рег. 01.12.1986) «Срок действия продлен» |
|
| Расположен в: |
|