| ||||||||||||||||||||||||||||||||
Скачать ГОСТ 21106.4-76 Лампы модуляторные импульсные мощностью, рассеиваемой анодом, свыше 25 Вт. Метод испытания на электрическую прочностьДата актуализации: 01.06.2025
| ||||||||||||||||||||||||||||||||
| Обозначение: | ![]() ГОСТ 21106.4-76 |
| Статус: | действующий |
| Название рус.: | Лампы модуляторные импульсные мощностью, рассеиваемой анодом, свыше 25 Вт. Метод испытания на электрическую прочность |
| Название англ.: | Modulator flash tubes with anode dissipation above 25 W. Method of electric strength test |
| Дата актуализации текста: | 06.04.2015 |
| Дата актуализации описания: | 01.07.2023 |
| Дата издания: | 01.03.1983 |
| Дата введения: | 01.01.1978 |
| Код ОКП: | 634300 |
| Нормативные ссылки: | ГОСТ 18485-73; ГОСТ 21106.0-75 |
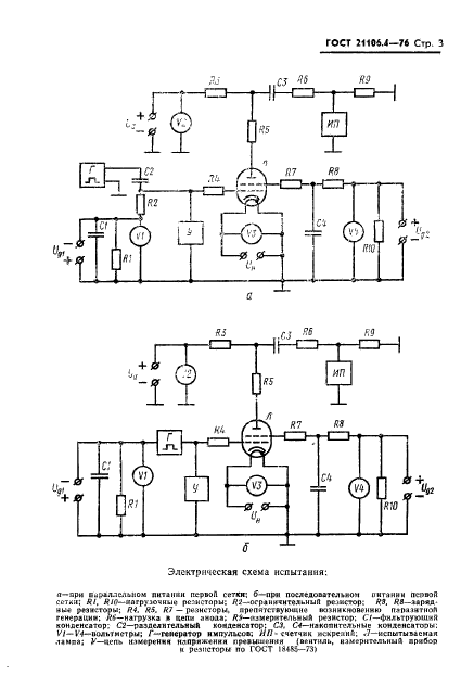
| Область применения: | Настоящий стандарт распространяется на импульсные модуляторные лампы мощностью, рассеиваемой анодом, свыше 25 Вт и устанавливает метод испытания ламп на электрическую прочность |
| Список изменений: | №0 от 27.06.1990 (рег. 27.06.1990) «Восстановлен на территории СНГ» №0 от 01.07.1989 (рег. 04.05.1988) «Текстовое изменение; Изменено заглавие» №0 от 29.04.1987 (рег. 28.04.1987) «Срок действия продлен» №1 от 01.11.1979 (рег. 20.06.1979) «Срок действия продлен» №2 от 30.04.1981 (рег. 28.11.1980) «Срок действия продлен» №3 от 30.04.1983 (рег. 26.11.1982) «Срок действия продлен» |
| Расположен в: | |








