| Обозначение: |    ГОСТ 12268-79 | 
| Статус: | действующий | 
| Название рус.: | Картон электроизоляционный. Методы определения стойкости к воздействию испытательного напряжения, поверхностных разрядов и сжимаемости под давлением | 
| Название англ.: | Electrical insulating board. Methods for determination of test voltage resistance, surface discharge resistance and compressibility under pressure | 
| Дата актуализации текста: | 06.04.2015 | 
| Дата актуализации описания: | 01.07.2023 | 
| Дата издания: | 01.07.1985 | 
| Дата введения: | 01.01.1980 | 
| Код ОКП: | 544310 | 
| Взамен: |  ГОСТ 12268-74 | 
| Нормативные ссылки: |  ГОСТ 6433.3-71; ГОСТ 982-68; ГОСТ 10121-76; ГОСТ 6581-75; ГОСТ 17622-72; ГОСТ 1435-74; ГОСТ 2789-73; ГОСТ 13523-78; ГОСТ 17711-72; ГОСТ 166-73 | 
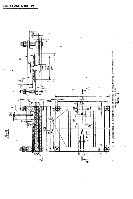
| Область применения: | Настоящий стандарт распространяется на электроизоляционный картон, предназначенный для изоляции в масляных трансформаторах и аналогичных аппаратах с масляным заполнением, и устанавливает следующие методы испытаний: определение стойкости картона к воздействию испытательного напряжения переменного тока частотой 50 Гц перпендикулярно к поверхности; определение стойкости картона к воздействию поверхностных разрядов в трансформаторном масле при частоте 50 Гц; определение сжимаемости картона после сушки под давлением на воздухе; определение сжимаемости картона под давлением в трансформаторном масле; определение сжимаемости картона до сушки под давлением на воздухе; определение остаточной деформации после снятия давления | 
| Список изменений: | №1 от 01.01.1985 (рег. 28.06.1984) «Срок действия продлен» | 
 | 
| Расположен в: | 
  |