| ||||||||||||||||||||||||||||||||||||||
 Скачать ГОСТ 12301-81 Коробки из картона, бумаги и комбинированных материалов. Общие технические условияДата актуализации: 01.06.2025
 | ||||||||||||||||||||||||||||||||||||||
| Обозначение: | ![]()   ГОСТ 12301-81 | 
| Статус: | заменён | 
| Название рус.: | Коробки из картона, бумаги и комбинированных материалов. Общие технические условия | 
| Название англ.: | Cartons of paperboard, paper and composite materials. General specifications | 
| Дата актуализации текста: | 06.04.2015 | 
| Дата актуализации описания: | 01.07.2023 | 
| Дата издания: | 01.03.1999 | 
| Дата введения: | 01.01.1983 | 
| Дата окончания срока действия: | 01.01.2008 | 
| Код ОКП: | 548000;548100 | 
| Взамен: |  ГОСТ 12301-72; ГОСТ 13501-68 | 
| Заменяющий: |  ГОСТ 12301-2006 | 
| Нормативные ссылки: |  ГОСТ 15.009-91; ГОСТ 166-89; ГОСТ 2067-93; ГОСТ 2228-81; ГОСТ 3282-74; ГОСТ 3749-77; ГОСТ 5202-78; ГОСТ 6034-74; ГОСТ 6861-73; ГОСТ 7247-90; ГОСТ 7502-89; ГОСТ 7625-86; ГОСТ 7697-82; ГОСТ 7699-78; ГОСТ 7933-89; ГОСТ 8273-75; ГОСТ 8589-75; ГОСТ 8705-78; ГОСТ 11808-88; ГОСТ 13078-81; ГОСТ 14192-96; ГОСТ 15150-69; ГОСТ 17308-88; ГОСТ 18510-87; ГОСТ 18992-80; ГОСТ 19112-78; ГОСТ 21140-88; ГОСТ 26663-85;ТУ 63.151.01-83 | 
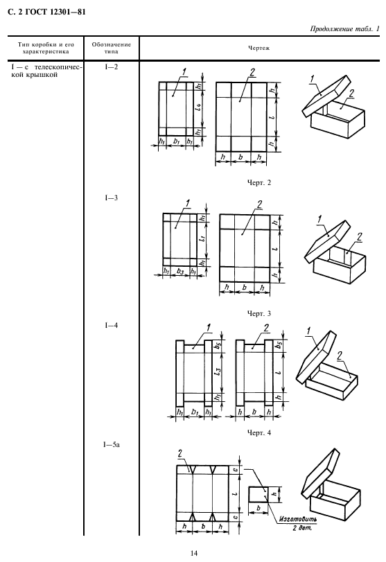
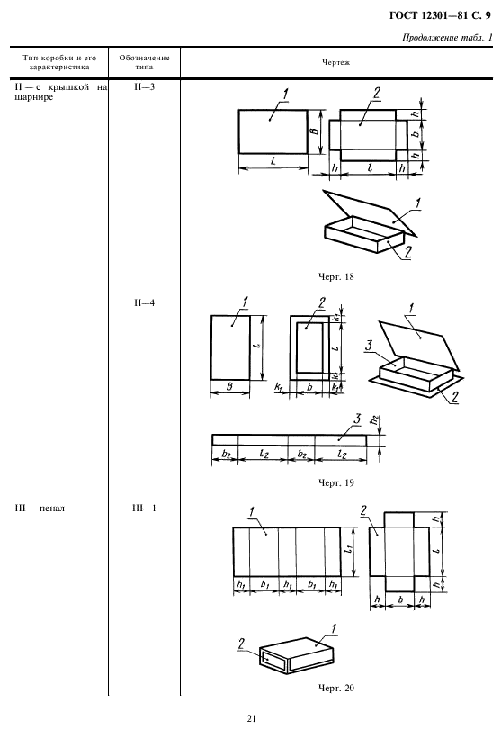
| Область применения: | Настоящий стандарт распространяется на коробки из картона, бумаги и комбинированных материалов на основе картона и бумаги, предназначенные для упаковывания и хранения промышленной продукции | 
| Список изменений: | №1 от 31.03.1984 (рег. 20.12.1983) «Срок действия продлен» №2 от 01.07.1987 (рег. 22.03.1987) «Срок действия продлен» №3 от 01.03.1990 (рег. 20.08.1989) «Срок действия продлен» №4 от 01.07.1994 (рег. 11.05.1994) «Срок действия продлен»  | 
| Расположен в: | |

















