| Обозначение: |    ГОСТ 3890-82 | 
| Статус: | действующий | 
| Название рус.: | Патроны четырехкулачковые с независимым перемещением кулачков. Основные и присоединительные размеры | 
| Название англ.: | Four-jawed independent chucks. Basic and coupling dimensions | 
| Дата актуализации текста: | 06.04.2015 | 
| Дата актуализации описания: | 01.07.2023 | 
| Дата издания: | 01.01.1993 | 
| Дата введения: | 01.07.1983 | 
| Код ОКП: | 396110;392810 | 
| Взамен: |  ГОСТ 3890-72 | 
| Нормативные ссылки: | CT CЭB 1574-79;CT CЭB 1575-79 | 
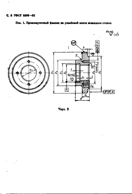
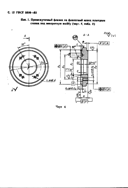
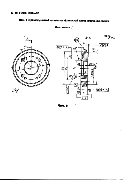
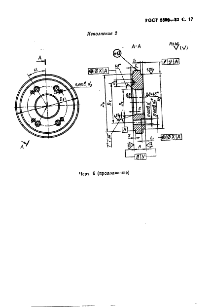
| Область применения: | Настоящий стандарт распространяется на четырехкулачковые патроны классов точности Н, П, В и А с независимым перемещением кулачков, устанавливаемые на шпиндели станков. | 
| Список изменений: | №1 от 01.01.1987 (рег. 14.09.1986) «Срок действия продлен» №2 от 01.01.1988 (рег. 13.04.1987) «Срок действия продлен» №3 от 01.01.1988 (рег. 16.08.1987) «Срок действия продлен» | 
 | 
| Расположен в: | 
  |