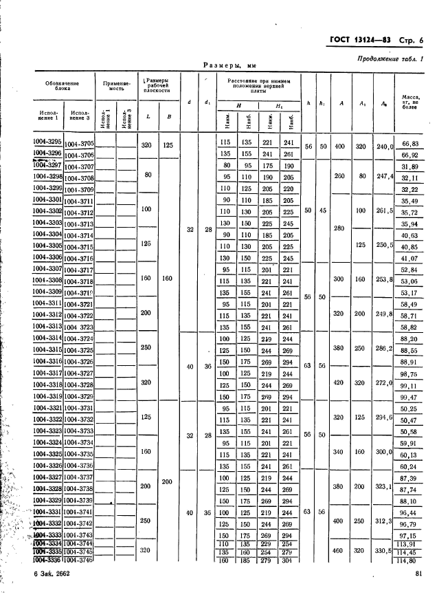
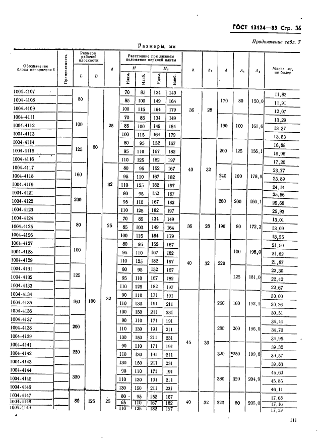
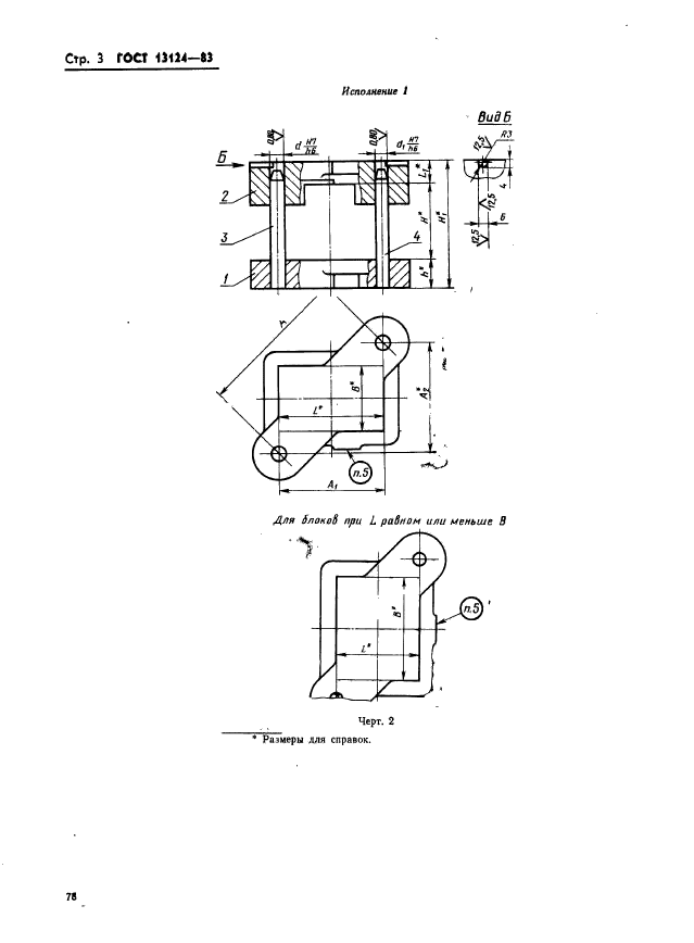
| Обозначение: |    ГОСТ 13124-83 | 
| Статус: | действующий | 
| Название рус.: | Штампы для листовой штамповки. Блоки штампов с диагональным расположением направляющих узлов скольжения. Конструкция и размеры | 
| Название англ.: | Diagonal post press tool sets for cold plastic working dies. Construction and dimensions | 
| Дата актуализации текста: | 06.04.2015 | 
| Дата актуализации описания: | 01.07.2023 | 
| Дата издания: | 01.03.1986 | 
| Дата введения: | 01.07.1984 | 
| Код ОКП: | 396330 | 
| Взамен: |  ГОСТ 13124-75 | 
| Содержит требования: | СТ СЭВ 3325-81 | 
| Область применения: | Настоящий стандарт распространяется на блоки штампов с диагональным расположением направляющих узлов скольжения с плитами из чугунного и стального литья | 
 | 
| Расположен в: | 
  |