| Обозначение: |    ГОСТ 9798-85 | 
| Статус: | не действует в РФ | 
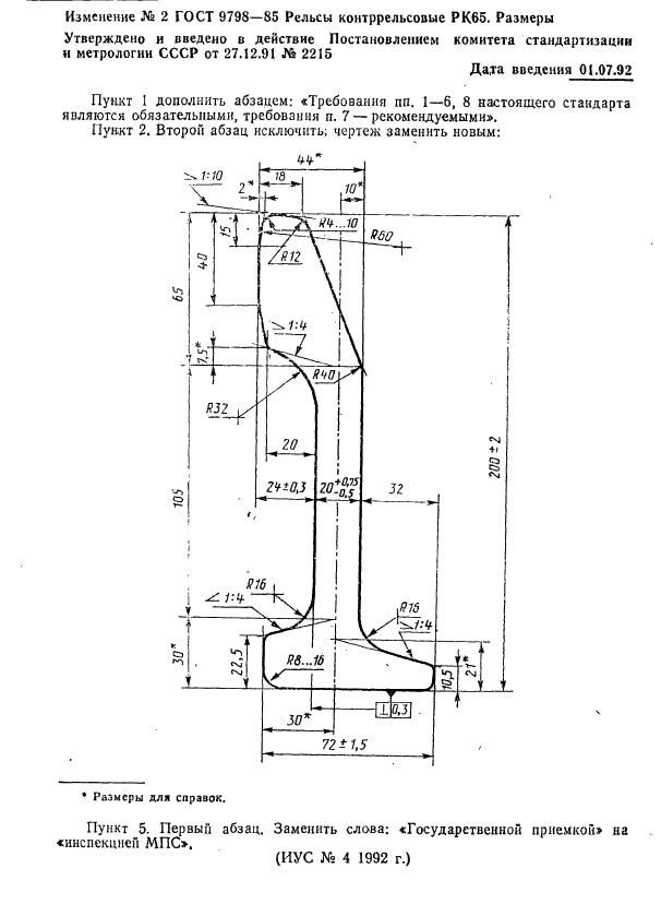
| Название рус.: | Рельсы контррельсовые РК65. Размеры | 
| Название англ.: | Rails for RK65 check rails. Dimensions | 
| Дата актуализации текста: | 06.04.2015 | 
| Дата актуализации описания: | 01.07.2023 | 
| Дата издания: | 01.01.1985 | 
| Дата введения: | 01.07.1985 | 
| Дата окончания срока действия: | 01.01.2014 | 
| Код ОКП: | 092100 | 
| Взамен: |  ГОСТ 9798-71 | 
| На территории РФ пользоваться: |  ГОСТ Р 55497-2013 | 
| Нормативные ссылки: |  ГОСТ 18232-83 | 
| Область применения: | Настоящий стандарт распространяется на контррельсовые рельсы РК65, применяемые в конструкциях верхнего строения пути с железнодорожными рельсами типа Р65 | 
| Список изменений: | №0 от 01.01.2014 (рег. 28.07.2013) «Поправка к изменению» №1 от 01.07.1990 (рег. 05.12.1989) «Срок действия продлен» №2 от 01.07.1992 (рег. 27.12.1991) «Срок действия продлен» | 
 | 
| Расположен в: | 
  |