| ||||||||||||||||||||||||||||||||||||||
Скачать ГОСТ 10597-87 Кисти и щетки малярные. Технические условияДата актуализации: 01.06.2025
| ||||||||||||||||||||||||||||||||||||||
| Обозначение: | ![]() ГОСТ 10597-87 |
| Статус: | не действует в РФ |
| Название рус.: | Кисти и щетки малярные. Технические условия |
| Название англ.: | Painting brishes. Specifications |
| Дата актуализации текста: | 06.04.2015 |
| Дата актуализации описания: | 01.07.2023 |
| Дата издания: | 01.06.1999 |
| Дата введения: | 01.01.1988 |
| Дата окончания срока действия: | 01.03.2020 |
| Код ОКП: | 483327 |
| Взамен: | ГОСТ 10597-80 |
| На территории РФ пользоваться: | ГОСТ Р 58516-2019 |
| Нормативные ссылки: | ГОСТ 9.032-74; ГОСТ 9.104-79; ГОСТ 1050-74; ГОСТ 2695-83; ГОСТ 2991-85; ГОСТ 4598-86; ГОСТ 5959-80; ГОСТ 7016-82; ГОСТ 7827-74; ГОСТ 7933-75; ГОСТ 8273-75; ГОСТ 8486-66; ГОСТ 8828-75; ГОСТ 10350-81; ГОСТ 11437-80 |
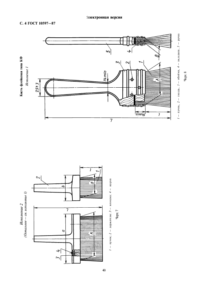
| Область применения: | Настоящий стандарт распространяется на кисти и щетки, предназначаемые для малярных работ в строительстве |
| Список изменений: | №0 от 01.01.1991 (рег. 16.11.1990) «Срок действия продлен» №1 от 01.01.1991 (рег. 16.11.1990) «Срок действия продлен» |
| Расположен в: | |

















