| ||||||||||||||||||||||||||||||||||
Скачать ГОСТ 5984-99 Вещества взрывчатые. Методы определения бризантностиДата актуализации: 01.06.2025
| ||||||||||||||||||||||||||||||||||
| Обозначение: | ![]() ГОСТ 5984-99 |
| Статус: | действующий |
| Название рус.: | Вещества взрывчатые. Методы определения бризантности |
| Название англ.: | Explosives. Methods for determination of brisance |
| Дата актуализации текста: | 06.04.2015 |
| Дата актуализации описания: | 01.07.2023 |
| Дата регистрации: | 08.10.1999 |
| Дата издания: | 01.09.2002 |
| Дата введения: | 01.01.2001 |
| Код ОКП: | 727600 |
| Взамен: | ГОСТ 5984-80 |
| Нормативные ссылки: | ГОСТ 166-89; ГОСТ 493-79; ГОСТ 1050-88; ГОСТ 1435-99; ГОСТ 1770-74; ГОСТ 2228-81; ГОСТ 2488-79; ГОСТ 2789-73; ГОСТ 2824-86; ГОСТ 3640-94; ГОСТ 3778-98; ГОСТ 3779-55; ГОСТ 3826-82; ГОСТ 4117-78; ГОСТ 4403-91; ГОСТ 4543-71; ГОСТ 5632-72; ГОСТ 6254-85; ГОСТ 6662-73; ГОСТ 8273-75; ГОСТ 9089-75; ГОСТ 9147-80; ГОСТ 12172-74; ГОСТ 16214-86; ГОСТ 17299-78; ГОСТ 18300-87; ГОСТ 18992-80; ГОСТ 19113-84; ГОСТ 21806-76; ГОСТ 23683-89; ГОСТ 24104-2001; ГОСТ 25336-82 |
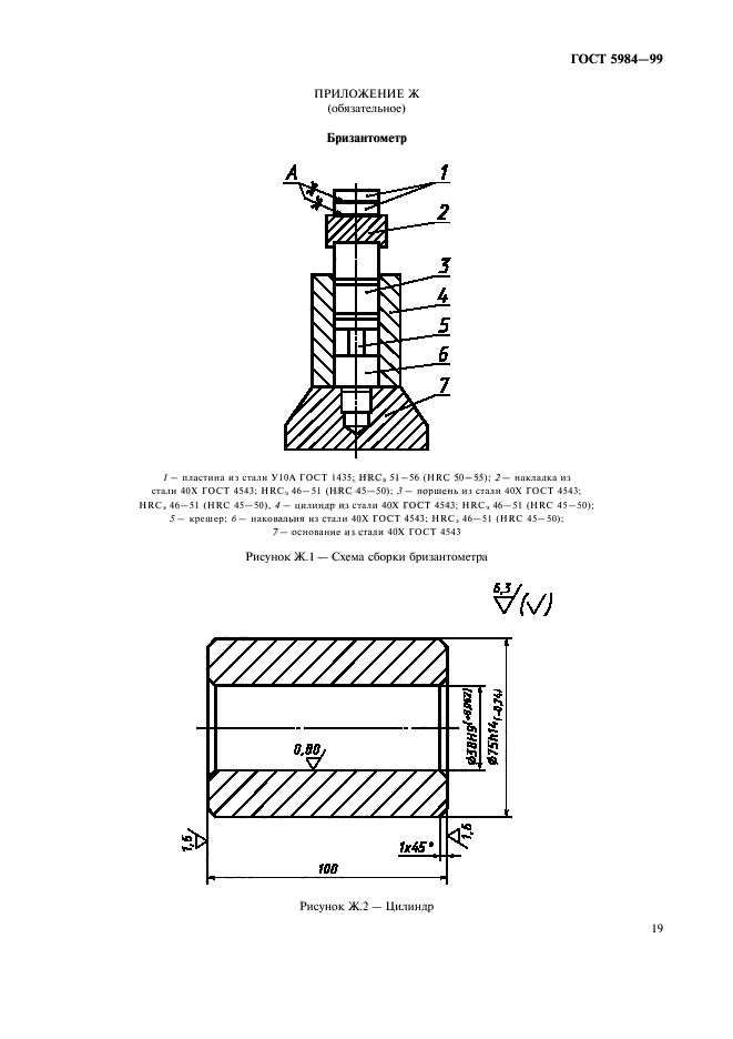
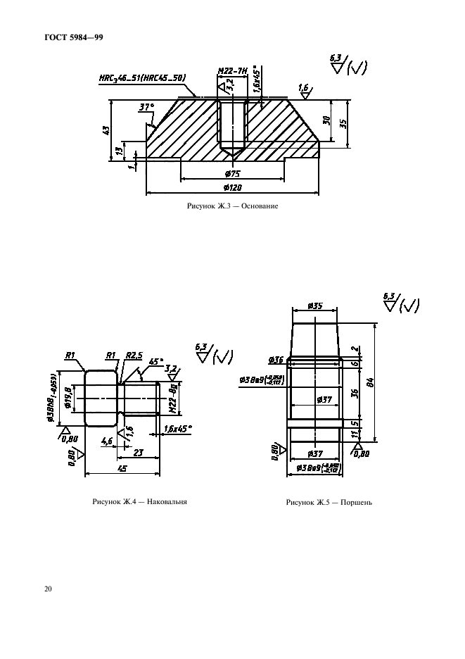
| Область применения: | Настоящий стандарт распространяется на взрывчатые вещества и устанавливает следующие методы определения бризантности:по обжатию свинцовых цилиндров; по импульсу взрыва на баллистическом маятнике; по обжатию медных крешерных цилиндрических столбиков |
| Расположен в: | |
























