| Обозначение: |  ГОСТ 7076-99 |
| Статус: | действующий |
| Название рус.: | Материалы и изделия строительные. Метод определения теплопроводности и термического сопротивления при стационарном тепловом режиме |
| Название англ.: | Building materials and products. Method of determination of steady-state thermal conductivity and thermal resistance |
| Дата актуализации текста: | 06.04.2015 |
| Дата актуализации описания: | 01.07.2023 |
| Дата регистрации: | 20.05.1999 |
| Дата издания: | 10.03.2000 |
| Дата введения: | 01.04.2000 |
| Код ОКП: | 570000 |
| Взамен: | ГОСТ 7076-87 |
| Нормативные ссылки: | ISO 8301:1991;ISO 8302:1991; ГОСТ 166-89; ГОСТ 427-75; ГОСТ 17177-94; ГОСТ 24104-88 |
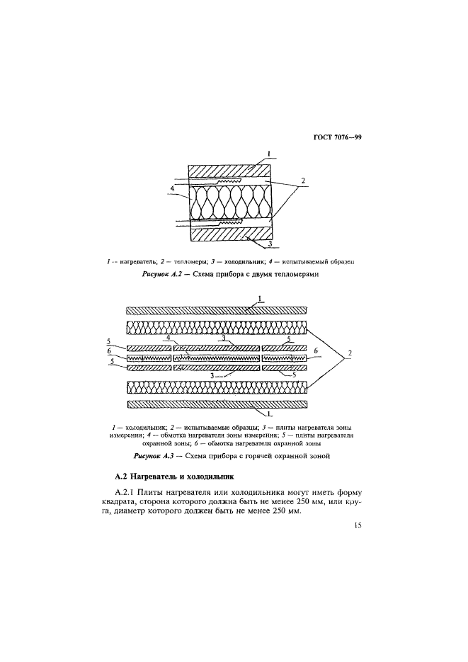
| Область применения: | Настоящий стандарт распространяется на строительные материалы и изделия, а также на материалы и изделия, предназначенные для тепловой изоляции промышленного оборудования и трубопроводов, и устанавливает метод определения их эффективной теплопроводности и термического сопротивления при средней температуре образца от минус 40 до + 200 град. С. Стандарт не распространяется на материалы и изделия с теплопроводностью более 1,5 Вт/(м.К) |
|
| Расположен в: |
|