| Обозначение: |  ГОСТ 7303-90 |
| Статус: | не действует в РФ |
| Название рус.: | Антрацит. Метод определения объемного выхода летучих веществ |
| Название англ.: | Anthracite. Method for the determination of volatile matter volume yield |
| Дата актуализации текста: | 06.04.2015 |
| Дата актуализации описания: | 01.01.2024 |
| Дата издания: | 04.12.1990 |
| Дата введения: | 01.07.1991 |
| Дата окончания срока действия: | 16.08.2023 |
| Код ОКП: | 030000 |
| Взамен: | ГОСТ 7303-77 |
| Содержит требования: | СТ СЭВ 6768-89 |
| На территории РФ пользоваться: | ГОСТ Р 59251-2020 |
| Нормативные ссылки: | ГОСТ 1770-74; ГОСТ 4233-77; ГОСТ 5496-78; ГОСТ 7995-80; ГОСТ 9933-75; ГОСТ 10742-71; ГОСТ 13455-76; ГОСТ 19908-80; ГОСТ 25336-82; ГОСТ 27313-89;ТУ 38 1051835-88 |
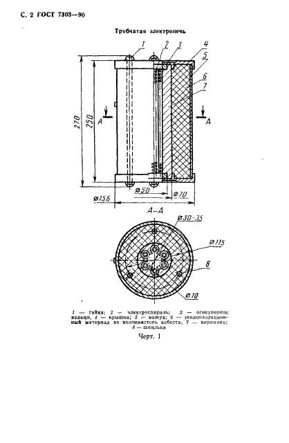
| Область применения: | Настоящий стандарт распространяется на антрацит и продукты термической переработки топлив, в которых выход летучих веществ составляет менее 8% |
|
| Расположен в: |
|