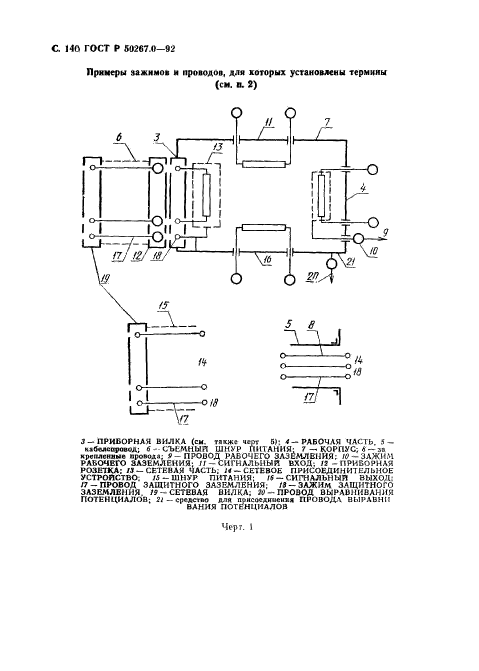
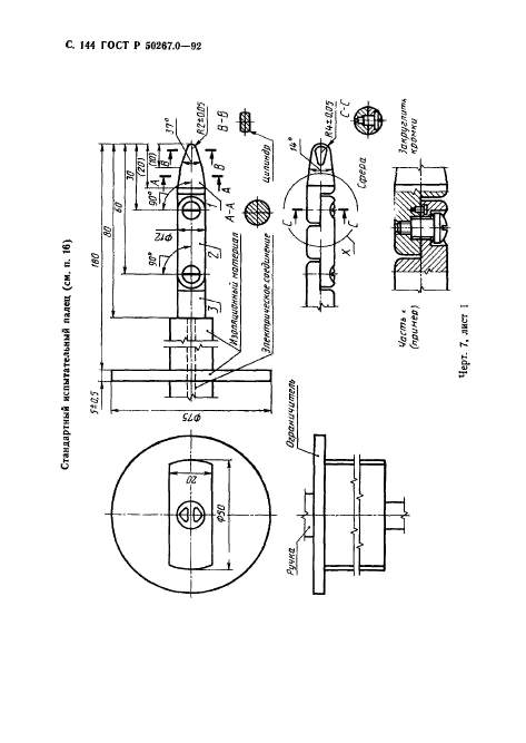
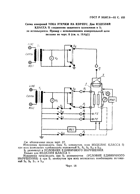
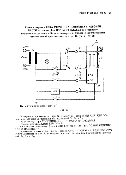
| ||||||||||||||||||||||||||||||||||||||||
Скачать ГОСТ Р 50267.0-92 Изделия медицинские электрические. Часть 1. Общие требования безопасностиДата актуализации: 01.06.2025
| ||||||||||||||||||||||||||||||||||||||||
| Обозначение: | ![]() ГОСТ Р 50267.0-92 |
| Статус: | действующий |
| Название рус.: | Изделия медицинские электрические. Часть 1. Общие требования безопасности |
| Название англ.: | Medical electrical equipment. Part 1. General safety requirements |
| Дата актуализации текста: | 06.04.2015 |
| Дата актуализации описания: | 01.07.2023 |
| Дата издания: | 01.02.1996 |
| Дата введения: | 01.07.1993 |
| Код ОКП: | 940000 |
| Содержит требования: | IEC 60601-1(1988) |
| Нормативные ссылки: | ISO 32;ISO 407;ISO 471;ISO 780;ISO 1853;ISO 2878;ISO 2882;IEC 60445(1973);IEC 60664(1980); ГОСТ 8.417-2002; ГОСТ 8865-93; ГОСТ 14254-96; ГОСТ 16504-81; ГОСТ 18826-73; ГОСТ 21991-89; ГОСТ 22782.0-81; ГОСТ 26140-84; ГОСТ 26413.0-85; ГОСТ 27473-87; ГОСТ 27570.0-87; ГОСТ 28200-89; ГОСТ 28312-89; ГОСТ 28779-90; ГОСТ 30030-93; ГОСТ Р 50267.0.2-95; ГОСТ Р 50267.0.3-99; ГОСТ Р 50267.0.4-99; ГОСТ Р 50267.2-92; ГОСТ Р 50267.4-92; ГОСТ Р 50326-92; ГОСТ Р 50444-92; ГОСТ Р 50537-93; ГОСТ Р 50571.3-94; ГОСТ Р 51325.1-99; ГОСТ Р 51330.3-99; ГОСТ Р 51330.6-99; ГОСТ Р 51330.7-99; ГОСТ Р 51350-99; ГОСТ Р МЭК 60065-2002; ГОСТ Р МЭК 60073-2000; ГОСТ Р МЭК 252-94; ГОСТ Р МЭК 335-1-94; ГОСТ Р МЭК 384-14-94; ГОСТ Р МЭК 536-94; ГОСТ Р МЭК 601-1-1-96; ГОСТ Р МЭК 878-95; ГОСТ Р МЭК 61058.1-2000; ГОСТ Р ИСО 8185-99; ГОСТ Р ИСО 10993-1-99 |
| Область применения: | Настоящий стандарт распространяется на безопасность медицинских электрических изделий. Так как настоящий стандарт относится в основном к безопасности, он содержит некоторые требования, касающиеся надежной работы, если это связано с безопасностью. Опасности, являющиеся результатом намеренного физиологического воздействия изделий, подпадающих под действие настоящего стандарта, не рассматриваются |
| Список изменений: | №0 от 07.04.1993 (рег. 06.04.1993) «Утратил силу в РФ» №1 от 01.01.1997 (рег. 27.03.1996) «Срок действия продлен» №2 от 30.06.2004 (рег. 19.01.2004) «Текстовое изменение; Изменены ссылочные НД» |
| Приложение №1: | Изменение №2 к ГОСТ Р 50267.0-92 |
| Расположен в: | |












































































































































































































































































| Обозначение: | Изменение №2 к ГОСТ Р 50267.0-92 |
| Дата введения: | 01.07.2004 |









































