| Обозначение: |  ГОСТ Р 50213-92 |
| Статус: | действующий |
| Название рус.: | Машины текстильные и оборудование вспомогательное. Патроны конические для намотки пряжи (крестовая намотка). Половина угла конуса 5 град. угл. 57 мин. Размеры и методы контроля |
| Название англ.: | Textile machinery and accessories. Cones for yarn winding (cross wound). Half angle of the cone 5 degree 57 min. Dimensions and checking methods |
| Дата актуализации текста: | 06.04.2015 |
| Дата актуализации описания: | 01.01.2021 |
| Дата издания: | 01.11.1992 |
| Дата введения: | 01.01.1994 |
| Код ОКП: | 967156 |
| Содержит требования: | ISO 5237:1978 |
| Нормативные ссылки: | ГОСТ 25346-89 |
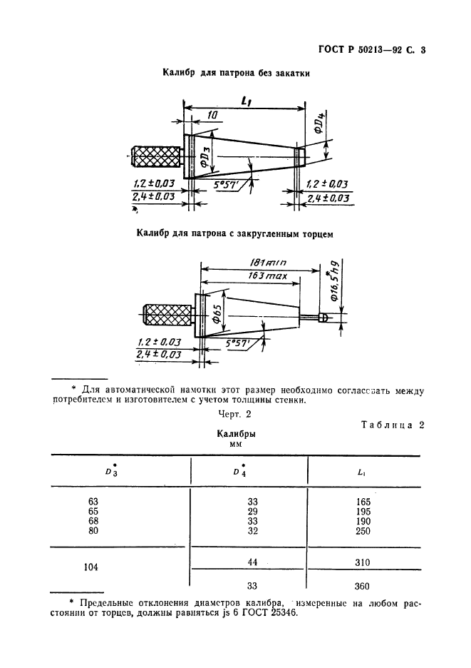
| Область применения: | Настоящий стандарт устанавливает размеры и допуски конических патронов для намотки пряжи (крестовая намотка) с половиной угла конуса 5 град. 57', а также размеры и допуски калибров для измерения патронов и распространяется на конические патроны для вновь разрабатываемого оборудования |
|
| Расположен в: |
|