| Обозначение: |  ГОСТ Р 50023-92 |
| Статус: | отменён |
| Название рус.: | Головки соединительные пневматического привода тормозных систем. Типы, основные размеры. Общие технические требования и методы испытаний |
| Название англ.: | Coupling heads of pneumatic transmission of braking systems. Types, basic dimensions. General technical requirements and test methods |
| Дата актуализации текста: | 06.04.2015 |
| Дата актуализации описания: | 01.07.2023 |
| Дата издания: | 01.07.1994 |
| Дата введения: | 01.01.1993 |
| Дата окончания срока действия: | 01.04.2017 |
| Код ОКП: | 453000 |
| На территории РФ пользоваться: | ГОСТ 33603-2015 |
| Нормативные ссылки: | ISO 1728:1980 |
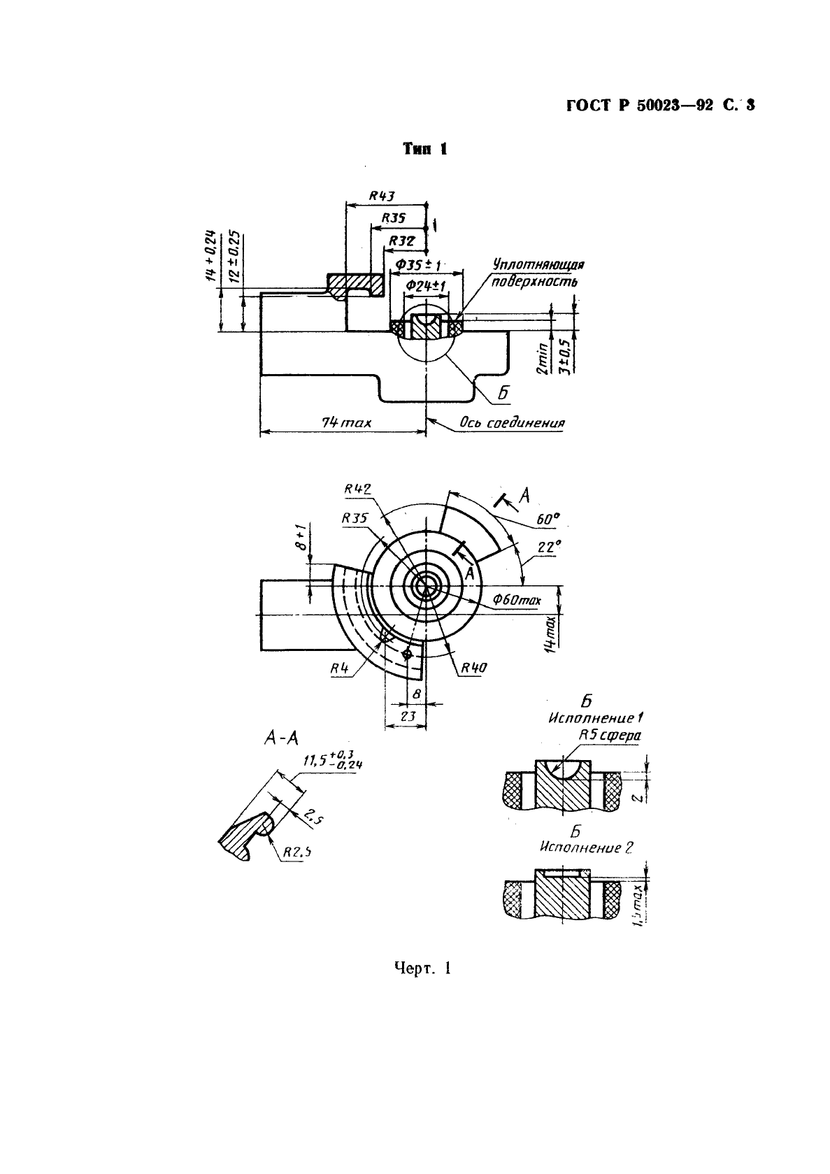
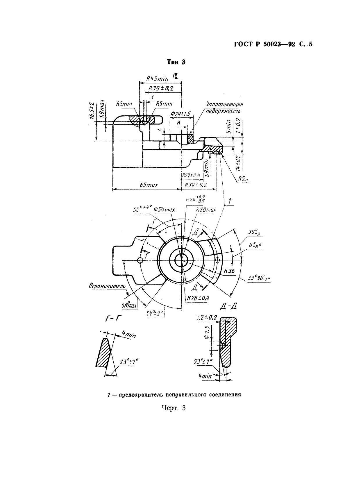
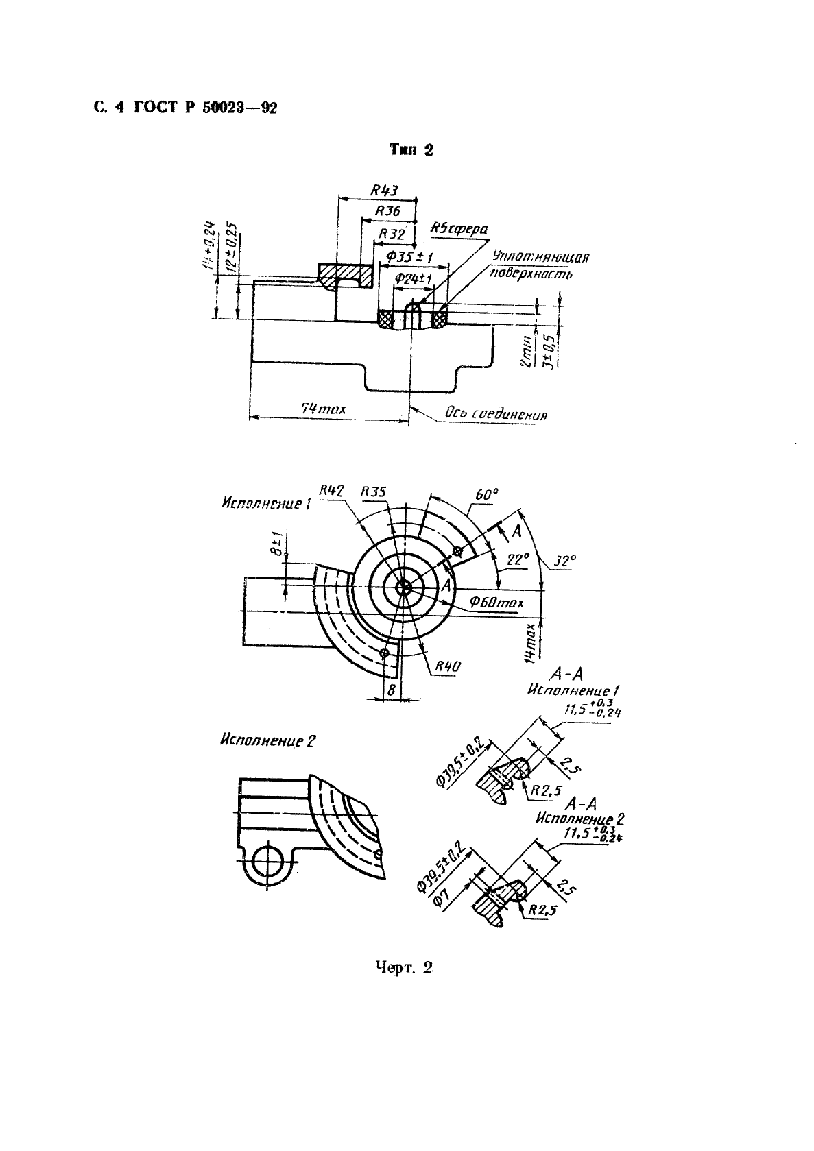
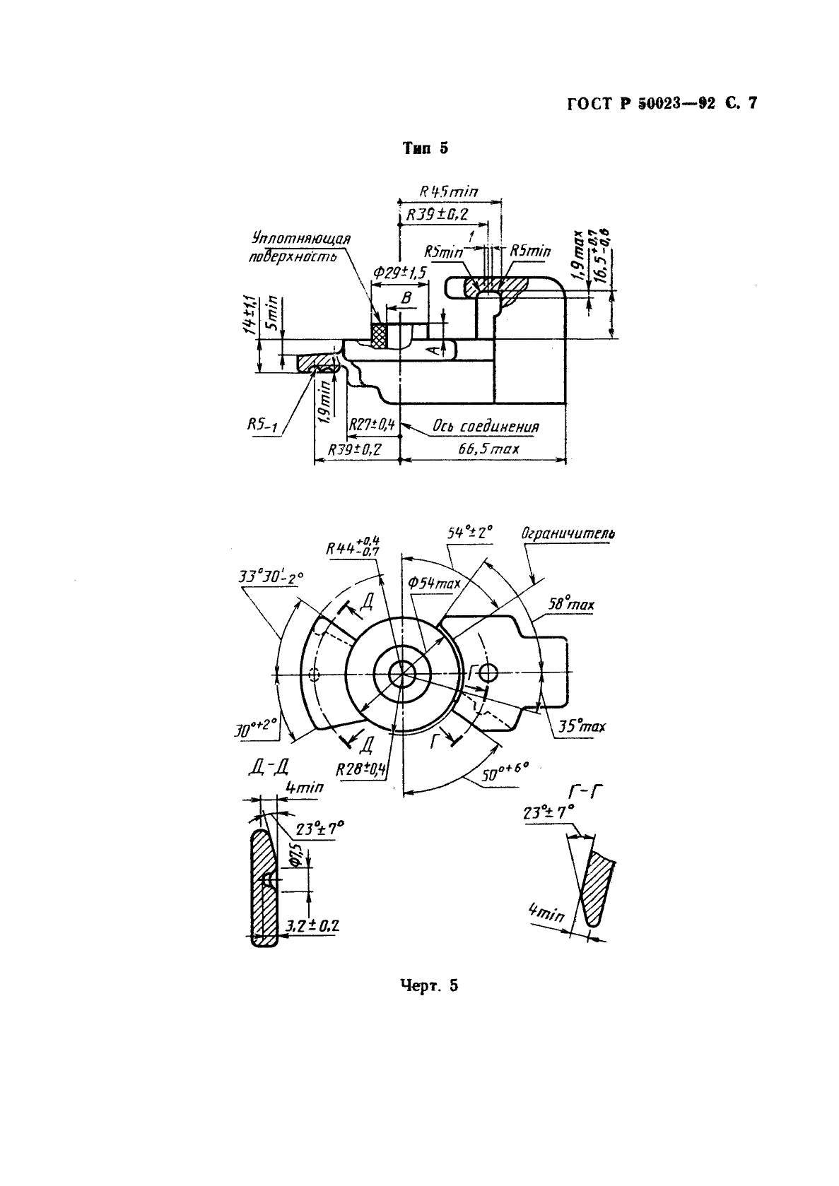
| Область применения: | Настоящий стандарт распространяется на соединительные головки, предназначенные для соединения однопроводных и двухпроводных приводов тормозных систем автомобилей и тракторов с приводами тормозных систем прицепов, полуприцепов и прицепных сельскохозяйственных машин, а также для соединения тормозных систем звеньев автопоездов и тракторных поездов, и устанавливает типы головок, основные присоединительные размеры, необходимые для обеспечения их соединения, технические требования и методы испытаний |
| Список изменений: | №0 от 31.03.2017 (рег. 21.06.2016) «Текстовое изменение; Изменено заглавие» |
|
| Расположен в: |
|