| Обозначение: |    ГОСТ 10753-86 | 
| Статус: | действующий | 
| Название рус.: | Шлицы крестообразные для винтов и шурупов. Размеры и методы контроля | 
| Название англ.: | Cross recesses for screws and wood screws. Dimensions and control methods | 
| Дата актуализации текста: | 06.04.2015 | 
| Дата актуализации описания: | 01.01.2021 | 
| Дата издания: | 01.08.2006 | 
| Дата введения: | 01.01.1988 | 
| Взамен: |  ГОСТ 10753-80 | 
| Содержит требования: | СТ СЭВ 1017-86 | 
| Нормативные ссылки: | ISO 4757:1983 | 
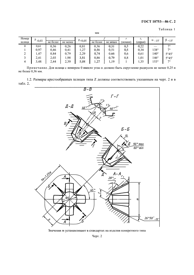
| Область применения: | Настоящий стандарт распространяется на крестообразные шлицы типов H и Z для головок винтов и шурупов и устанавливает размеры шлицев, метод измерения глубины вхождения калибра в шлиц и размеры калибра для контроля шлицев | 
 | 
| Расположен в: | 
  |