| Обозначение: |  ГОСТ Р 52592-2006 |
| Статус: | действующий |
| Название рус.: | Тракт передачи сигналов цифрового вещательного телевидения. Звенья тракта и измерительные сигналы. Общие требования |
| Название англ.: | Signal channel of digital broadcast television. Channel parts and measuring signals. General requirements |
| Дата актуализации текста: | 01.01.2021 |
| Дата актуализации описания: | 01.07.2023 |
| Дата издания: | 25.06.2020 |
| Дата введения: | 01.01.2007 |
| Нормативные ссылки: | ГОСТ Р 52210; ГОСТ 7845; ГОСТ 11515; ГОСТ 18471 |
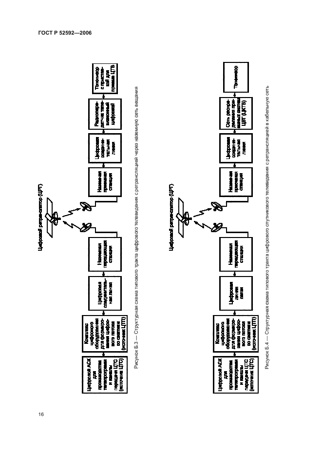
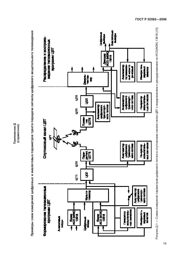
| Область применения: | Настоящий стандарт распространяется на тракт передачи сигналов цифрового вещательного телевидения стандартной четкости и устанавливает: - звенья тракта передачи сигналов цифрового вещательного телевидения; - границы звеньев тракта передачи сигналов цифрового вещательного телевидения; - виды интерфейсов тракта, его звеньев и их основные параметры; - измерительные сигналы и их элементы для контроля основных показателей качества тракта передачи сигналов цифрового вещательного телевидения; - основные требования к измерительным сигналам и средствам измерений. Стандарт предназначен для использования при проведении измерений основных параметров трактов передачи сигналов цифрового вещательного телевидения стандартной четкости |
|
| Расположен в: |
|