| Обозначение: |    ГОСТ Р ИСО 10303-506-2006 | 
| Статус: | заменён | 
| Название рус.: | Системы автоматизации производства и их интеграция. Представление данных об изделии и обмен этими данными. Часть 506. Прикладные интерпретированные конструкции. Чертежные элементы | 
| Название англ.: | Industrial automation systems and integration. Product data representation and exchange. Part 506. Application interpreted constructions. Draughting elements | 
| Дата актуализации текста: | 06.04.2015 | 
| Дата актуализации описания: | 01.07.2023 | 
| Дата издания: | 01.08.2008 | 
| Дата введения: | 01.07.2007 | 
| Дата окончания срока действия: | 01.01.2018 | 
| Заменяющий: |  ГОСТ Р ИСО 10303-506-2016 | 
| Аутентичен стандартам: | ISO 10303-506:2000 | 
| Нормативные ссылки: | ISO 5459:1981;ISO /IEC 8824-1:1998;ISO 10209-1:1992;ISO 10303-1:1994;ISO 10303-11:1994;ISO 10303-46:1994;ISO 10303-101:1994;ISO 10303-202:1996 | 
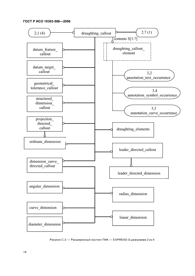
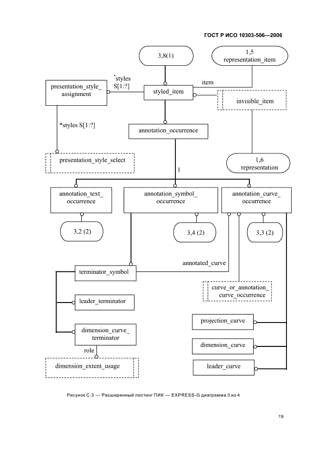
| Область применения: | Настоящий стандарт определяет интерпретацию интегрированных ресурсов, обеспечивающую соответствие требованиям к определению пояснений на чертеже, которые представляют собой размеры и выноски, проставляемые прикладной программой, создающей чертеж. Область применения настоящего стандарта распространяется на: - структуры для представления одиночных или составных размеров; - структуры для представления структурированных или неструктурированных размеров; - структуры для представления выносок на чертеже, которые могут изображаться посредством направленных линий, выносных линий или размерных линий. Область применения настоящего стандарта не распространяется на пояснения, которые не используются для представления размеров или выносок на чертеже | 
 | 
| Расположен в: | 
  |