| Обозначение: |  ГОСТ Р 51318.22-2006 |
| Статус: | отменён |
| Название рус.: | Совместимость технических средств электромагнитная. Оборудование информационных технологий. Радиопомехи индустриальные. Нормы и методы измерений |
| Название англ.: | Electromagnetic compatibility of technical equipment. Information technology equipment. Man-made radio disturbance. Limits and methods of measurement |
| Дата актуализации текста: | 06.04.2015 |
| Дата актуализации описания: | 01.07.2023 |
| Дата издания: | 10.05.2007 |
| Дата введения: | 01.07.2007 |
| Дата окончания срока действия: | 01.01.2014 |
| Содержит требования: | CISPR 22:2006 |
| На территории РФ пользоваться: | ГОСТ 30805.22-2013 |
| Нормативные ссылки: | ГОСТ Р 51317.4.6-99; ГОСТ Р 51318.11-2006; ГОСТ Р 51318.13-2006; ГОСТ Р 51318.16.4.2-2006; ГОСТ Р 51319-99; ГОСТ Р 51320-99; ГОСТ Р 51700-2000; ГОСТ 14777-76; ГОСТ 30372-95; ГОСТ Р 50397-92 |
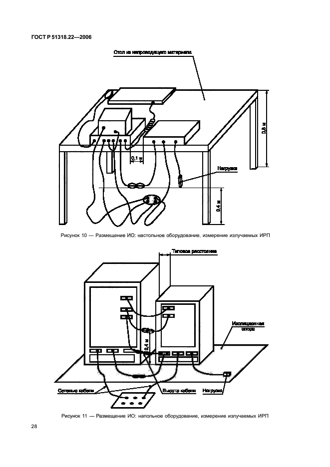
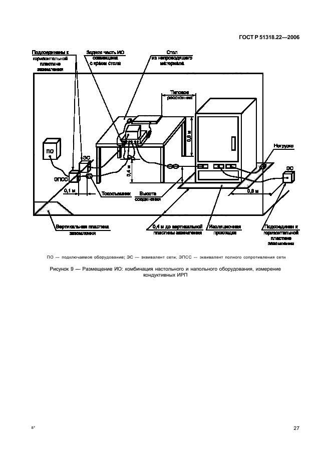
| Область применения: | Настоящий стандарт распространяется на оборудование информационных технологий (ОИТ). Стандарт устанавливает нормы и методы измерений индустриальных радиопомех (ИРП) от ОИТ классов А и Б в полосе частот от 0,15 МГц до 6 ГГц. Измерения на частотах, применительно к которым нормы не установлены, не проводят. Настоящий стандарт не распространяется на оборудование, для которого нормы ИРП в полосе часто от 0,15 МГц до 6 ГГц установлены в других национальных стандартах, разработанных на основе применения международных стандартов МЭК или СИСПР |
| Список изменений: | №0 от 01.01.2014 (рег. 21.07.2013) «Текстовое изменение; Изменено заглавие» |
|
| Расположен в: |
|