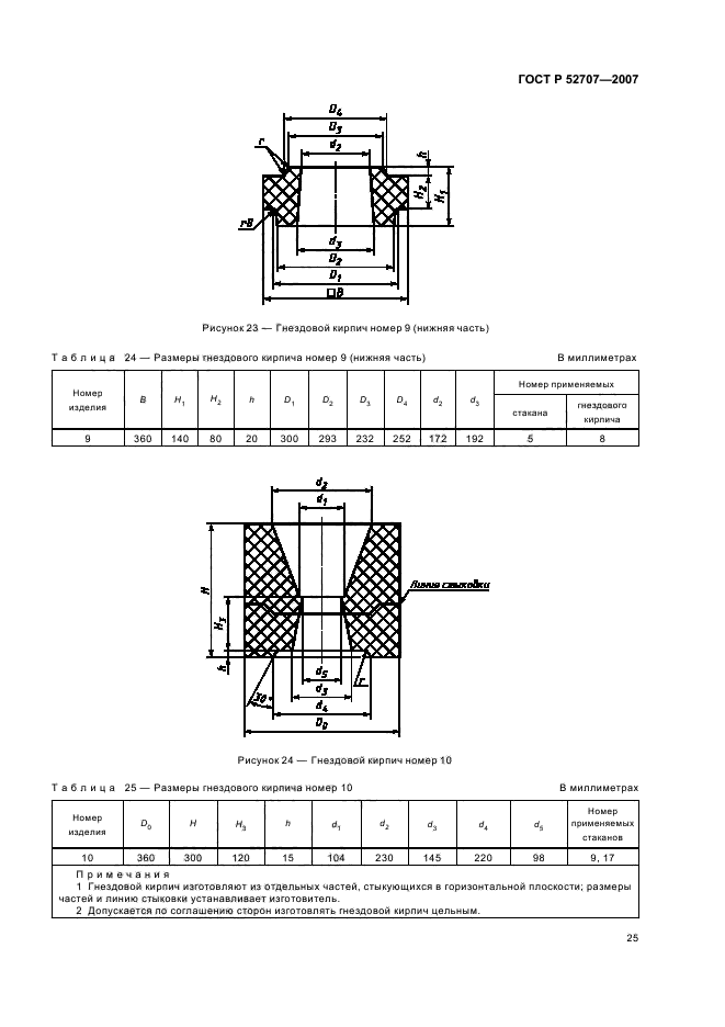
| ||||||||||||||||||||||||||||||||||||||||||||
Скачать ГОСТ Р 52707-2007 Огнеупоры для разливки стали. Изделия огнеупорные для шиберных затворов сталеразливочных ковшей. Технические условияДата актуализации: 01.06.2025
| ||||||||||||||||||||||||||||||||||||||||||||
| Обозначение: | ![]() ГОСТ Р 52707-2007 |
| Статус: | действующий |
| Название рус.: | Огнеупоры для разливки стали. Изделия огнеупорные для шиберных затворов сталеразливочных ковшей. Технические условия |
| Название англ.: | Refractories for steel pouring. Refractory products for slide gates of casting ladles. Specifications |
| Дата актуализации текста: | 01.01.2021 |
| Дата актуализации описания: | 01.07.2023 |
| Дата издания: | 21.06.2007 |
| Дата введения: | 01.01.2008 |
| Код ОКП: | 155900;156500;158400 |
| Нормативные ссылки: | ГОСТ Р 50526-93; ГОСТ 12.1.005-88; ГОСТ 12.3.009-76; ГОСТ 12.4.010-75; ГОСТ 162-90; ГОСТ 164-90; ГОСТ 166-89; ГОСТ 427-75; ГОСТ 515-77; ГОСТ 2409-95; ГОСТ 2642.0-86; ГОСТ 2642.2-86; ГОСТ 2642.3-97; ГОСТ 2642.4-97; ГОСТ 2642.5-97; ГОСТ 2642.6-97; ГОСТ 2642.7-97; ГОСТ 2642.8-97; ГОСТ 2642.9-97; ГОСТ 2642.14-86; ГОСТ 2642.15-97; ГОСТ 2697-83; ГОСТ 3749-77; ГОСТ 4069-69; ГОСТ 4070-2000; ГОСТ 4071.1-94; ГОСТ 7502-98; ГОСТ 7875.0-94; ГОСТ 7875.1-94; ГОСТ 7933-89; ГОСТ 8026-92; ГОСТ 8179-98; ГОСТ 8273-75; ГОСТ 8828-89; ГОСТ 10198-91; ГОСТ 10354-82; ГОСТ 10923-93; ГОСТ 12082-82; ГОСТ 15136-78; ГОСТ 15588-86; ГОСТ 24717-2004; ГОСТ 25951-83; ГОСТ 28584-90; ГОСТ 28833-90; ГОСТ 28874-2004; ГОСТ 30762-2001; ГОСТ Р 53065.2-2008; ГОСТ Р 53788-2010; ГОСТ 12.4.253-2013; ГОСТ Р 52901-2007 |
| Область применения: | Настоящий стандарт распространяется на огнеупорные изделия для шиберных затворов сталеразливочных ковшей: цельную плиту, составную плиту, состоящую из плиты под вкладыш и вкладыша, вставку, стакан, стакан-коллектор, гнездовой кирпич |
| Список изменений: | №0 от 19.11.2007 (рег. 19.11.2007) «Дата введения перенесена» №1 от 31.08.2015 (рег. 22.03.2015) «Текстовое изменение; Изменены ссылочные НД» |
| Приложение №1: | Изменение №1 к ГОСТ Р 52707-2007 |
| Приложение №2: | Поправка к ГОСТ Р 52707-2007 |
| Расположен в: | |



















































| Обозначение: | Изменение №1 к ГОСТ Р 52707-2007 |
| Дата введения: | 01.09.2015 |

| Обозначение: | Поправка к ГОСТ Р 52707-2007 |
| Дата введения: | 19.11.2007 |
