| Обозначение: |  ГОСТ Р 52718-2007 |
| Статус: | действующий |
| Название рус.: | Аппаратура для измерения электрической энергии. Надежность. Часть 21. Сбор данных о надежности счетчиков в условиях эксплуатации |
| Название англ.: | Electricity metering equipment. Dependability. Part 21. Collection of meter dependability data from the field |
| Дата актуализации текста: | 06.04.2015 |
| Дата актуализации описания: | 01.07.2023 |
| Дата издания: | 15.06.2007 |
| Дата введения: | 01.01.2008 |
| Код ОКП: | 422800 |
| Содержит требования: | IEC 62059-21(2002) |
| Нормативные ссылки: | ГОСТ Р 52555-2006; ГОСТ 27.002-89; ГОСТ 25990-83 |
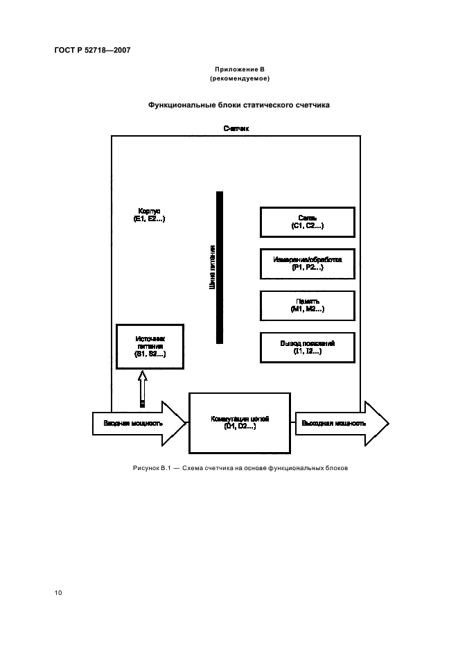
| Область применения: | Настоящий стандарт распространяется на электромеханическую и статическую аппаратуру, предназначенную для измерения электрической энергии и управления нагрузкой. Настоящий стандарт устанавливает методы сбора и анализа данных об отказах при эксплуатации аппаратуры с использованием отчетов об отказах аппаратуры в процессе эксплуатации и планов выборочного контроля |
|
| Расположен в: |
|